Каталог запасных частей к технике: Neoplan N 516 SHD (MB) E2. AIR SUSPENSION
1
2
3
4
4
4
5
5
6
6
7
7
7
8
8
8
9
9
9
9
9
9
9
9
10
10
11
11
12
12
13
13
13
13
13
13
14
14
15
15
15
15
16
16
16
16
16
16
16
16
16
17
17
17
17
17
17
17
18
18
18
18
18
18
18
18
18.1
19
19
19
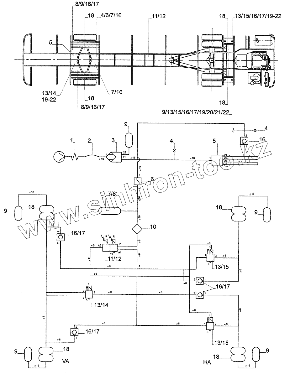
| Позиция на иллюстрации | Заводской номер детали | Название детали | |
|---|---|---|---|
| 1 | 1121.004.10 | СООLING СОIL | |
| 2 | 1101.247.00 | TEFLON HOSE | |
| 3 | 1102.748.30 | AIR DRYER | |
| 4 | 1104.754.00 | TEST CONNECTION | |
| 5 | 1102.251.00 | FOUR CIRCUIT VALVE | |
| 6 | 1102.151.00 | OVERFLOW VALVE | |
| 7 | 1101.570.00 | AIR TANK | |
| 8 | 1101.579.00 | AIR TANK | |
| 9 | 1102.107.00 | LINE CLEANER | |
| 10 | 1122.909.00 | VАLVЕ ВLОСК | |
| 11 | 1102.243.01 | AIR SPRING VALVE | |
| 12 | 1102.231.00 | NON RETURN VALVE | |
| 13 | 1001.102.00 | AIR SPRING BELLOW | |
| 14 | 1001.101.00 | AIR SPRING BELLOW | |
| 15 | 1102.840.09 | SOLENOID VALVE | |
| 16 | 0501.102.01 | SOLENOID VALVE | |
| 17 | 1102.262.00 | TWO WAY VALVE | |
| 18 | 0802.001.00 | NON- RETURN VALVE | |
| 18.1 | 0702.354.00 | NON- RETURN VALVE | |
| 19 | 1102.182.01 | PRESSURE LIMITER |
Содержащиеся в справочниках-каталогах запасные части и детали не предлагаются к продаже, а носят исключительно информационный характер