Вернуться на главную
Поиск
Каталоги запчастей к технике
Автобусы
Neoplan
N 516 SHD (MB) E2
ACCESSORY PARTS INTARDER
Каталог запасных частей к технике: Neoplan N 516 SHD (MB) E2. ACCESSORY PARTS INTARDER
zoom-in
zoom-out
enlarge
shrink
circle-right
circle-left
file-text2
info
cart
Тип техники
Не выбрано
Легковые автомобили
Грузовые автомобили и прицепы
Автобусы
Сельхозтехника
Спецтехника
Двигатели
Мототехника
Марка
Не выбрано
Golden Dragon
Hyundai
Ikarus
Karosa
King Long
Neoplan
Yutong
ZF
АМАЗ
Богдан
ЗИЛ
КАВЗ
Камский автозавод
ЛАЗ
ЛЗГМП
ЛиАЗ
Нефтекамский автозавод
ПАЗ
УралАЗ
Модель
Не выбрано
N 116 (MAN) E3 (2008)
N 116 (MAN) E3 (вар.) (2008)
N 116 E2 (2000)
N 3316 (DC OM 501 LA) E3 (2002)
N 3316 (MAN D 2866 LOH 29) E3 (2002)
N 3318 U E3 (2008)
N 516 SHD (MAN) E2 (2002)
N 516 SHD (MAN) E3 (2008)
N 516 SHD (MB) E2 (2000)
N 516 SHD (MB) E3 (2000)
N 516 SHD (MB, DC) E2 (2002)
Схема
>
Не выбрано
SKELETON ACC. DRAWING NOS.
SKELETON - DRIVER'S PLACE
SKELETON - INTERIOR
FLOOR ASSEMBLY RIGHT
FLOOR ASSEMBLY RIGHT DIAGONAL
FLOOR ASSEMBLY LEFT DIAGONAL
FLOOR ASSEMBLY LEFT
SIDEWALL ASSEMBLY LEFT
SIDEWALL ASSEMBLY
SIDEWALL ASSEMBLY RIGHT
SIDEWALL ASSEMBLY RIGHT
ROOF ASSEMBLY
RESERVE TIRE STORAGE
FRONT AND BACK CROSS BAR
TRACTOR TOWING DEVICE
TRACTOR TOWING DEVICE
WINDOW PILLAR RIGHT & LEFT
PROFILE PARTS GENERAL
SHEETING OUTSIDE
SHEETMETAL INSIDE
SHEET METAL INSIDE
SHEETMETAL INSIDE
SHEETMETAL INSIDE
SHEETMETAL INSIDE
SHEETMETAL INSIDE
MUD FLAP
ENGINE ENCAPSULATION
SYNTHETIC PARTS OUTSIDE
SYNTHETIC PARTS OUTSIDE
SYNTHETIC PARTS OUTSIDE
SYNTHETIC PARTS INSIDE
HEATING CIRCULATION
INDEPENDENT CAR HEATING
PARTS LIST
PARTS LIST
INDEPENDENT CAR HEATING
SPARE PARTS LIST
SPARE PARTS LIST
SPARE PARTS LIST
SPARE PARTS LIST
SPARE PARTS LIST
SPARE PARTS LIST
SPARE PARTS LIST
SPARE PARTS LIST
SPARE PARTS LIST
SPARE PARTS LIST
SPARE PARTS LIST
SPARE PARTS LIST
CICULATION PUMP
AIR - CONDITIONING - FRONTBOX
TEDDY-CIRCULATING-AIR HEATING
AIR CONDITIONING SYSTEM
AIR CONDITIONING SYSTEM
AIR CONDITIONING SYSTEM
AIR-CONDITIONER HOSES AND COUPLINGS
PARTS FOR CLIMATIC CONTROL
EXTERIOR MOULDING AND INTERIOR
STRIP INSIDE/TABLE
STRIP INSIDE-AIR PASSAGE
LUGGAGE DUMP
LUGGAGE DUMP
INSIDE COVER AND UPPER DECK FRONT
INSIDE COVER REAR
SUN ROOF
PILLAR TRIM PANEL
DASH BOARD COMPONENTS
DASH BOARD RIGHT
STRIP INSIDE
HANDRAILS
BOTTOM COVER
ASSEMBLY COVER
WOOD FLOORING
WINDSHIELD-ROLLER
SIDE WINDOW ROLLER BLIND & CURTAIN
OUTSIDE - A. INSIDE MIRROR
PODEST TABLE
KITCHEN WITH FRIDGE
KITCHEN
COFFEE - MACHINE
SPARE PARTS FOR COFFEE-PERCOLATOR
COFFEE - MACHINE
COFFEE - MACHINE
BOILING WATER APPLIANCE
WATER BOILER
HOT WATER HEATER
RESERVOIR WATER HEATER
WATER RESERVOIR
TOILET
RADIATOR ASSEMBLY
REFRIGERATOR WITH COMPRESSOR
SAFE & DRIVER'S SLEEPING CABIN
BUMPERS FRONTAND REAR
WINDOWS
WINDOWS
WINDOWS
WINDOWS
DRIVER WINDOW
SERVICE DOORS
FRONT FLAP
FUEL DOOR
SERVICE DOOR FRONT LEFT
SERVICE FLAP
LUGGAGE-COMPARTMENT LID CPL. LEFT
LUGGAGE-COMPARTMENT LID CPL RIGHT
LUGGAGE-COMPARTMENT LID CPL. LEFT
LUGGAGE-COMPARTMENT LID CPL.
LUGGAGE-COMPARTMENT LID CPL. LEFT
LUGGAGE-COMPARTMENT LID CPL.
FLAP
SERVICE FLAP
SERVICE FLAP
LUGGAGE COMPARTEMENT LID
EDGE PROTECTOR SECTION
ENGINE ROOM FLAP
LIFT-BAR-TYPE HANDLE
LUGGAGE - COMPARTEMENT LID GRIP RIGHT
LUGGAGE - COMPARTEMENT LID GRIP LEFT
LUGGAGE - COMPARTEMENT LID GRIP RIGHT
VALVE BLOC
OUTWARD SWINGING DOOR FRONT
ROTARY COLUMN FRONT
SPINDLE DRIVE FRONT
OUTWARD SWINGING DOOR
PIROT COLUMN CENTER
SPINDLE DRIVE CENTER
OUTWARD SWINGING DOOR FRONT
DOOR
DOOR CONTROL UNIT
EMERGENCY DOOR LOCKING SYSTEM
DOOR CONTROL UNIT, FRONT+REAR
SPARE PARTS LIST DRIVER SEAT
DRIVER SEAT
DRIVER SEAT
DRIVER SEAT
DRIVER SEAT
DRIVER SEAT
DRIVER SEAT
DRIVER SEAT
DRIVER SEAT
DRIVER SEAT
DRIVER SEAT
DRIVER SEAT
DRIVER SEAT
DRIVER SEAT
DRIVER SEAT
DRIVER SEAT
DRIVER SEAT
DRIVER SEAT
DRIVER SEAT
DRIVER SEAT RECARO
DRIVER SEAT RECARO
DRIVER SEAT RECARO
DRIVER SEAT RECARO
DRIVER SEAT RECARO
DRIVER SEAT RECARO
DRIVER SEAT RECARO
DRIVER SEAT RECARO
DRIVER SEAT RECARO
DRIVER SEAT RECARO
DRIVER SEAT RECARO
DRIVER SEAT RECARO
DRIVER SEAT RECARO
DRIVER SEAT RECARO
DRIVER SEAT RECARO
DRIVER SEAT RECARO
DRIVER SEAT RECARO
DRIVER SEAT RECARO
DRIVER SEAT RECARO
DRIVER SEAT RECARO
DRIVER SEAT RECARO
DRIVER SEAT RECARO
DRIVER SEAT RECARO
DRIVER SEAT RECARO
DRIVER SEAT RECARO
CO - DRIVER SEAT
PASSENGERS SEAT
TOOL BOX
INSULATING TAPE
PLASTIC CABLE CLIP
ACCESSOIRES
ACCESSOIRES
ACCESSOIRES
TOW-ROD
PAINT ACCESSORIES
SAFETY SIGNS
ADD-ON PARTS
ENGINE SUSPENSION
ALTERNATOR BRACKET
ALTERNATOR
GENERATOR AERATION
STARTER
SPARE PARTS COMPRESSOR
COMPRESSOR SUPPORT
COMPRESSOR SUPPORT
COMPRESSOR SUPPORT
VANE PUMP
V-BELT DRIVE
V-BELT DRIVE
ACCELERATOR + ACCESSORY PARTS
ENGINE BRAKE
3/2 DIRECTIONAL CONTROL VALVE
FUEL SYSTEM
FUEL FILTER WITH HAND PUMP
FUEL SYSTEM
EXHAUST SYSTEM
AIR FILTER SYSTEM
WATER CIRCULATION
CHARGE-AIR CIRCULATION
RETARDER COOLING
RETARDER COOLING
COUPLING WITH PEDAL
ASSEMBLY CLUTCH
CLUTCH ELEMENTS
CLUTCH SWICH
HEAT EXCHANGER
TRANSMISSION PARTS
TRANSMISSION PARTS AVS
SELECTOR SHAFT AND PARTS
SUPPORT
OIL COOLING (TRANSMISSION)
FOCAL RETARDER
TELMA WIRING PARTS
FOCAL RETARDER
TELMA WIRING PARTS
TELMA CONNECTING BLOCK
TELMA CONNECTING BLOCK
TELMA-COVERING
CONTROL
ACCESSORY PARTS INTARDER
WIRING-INTARDER
ACCESSORY PARTS INTARDER
TRANSMISSION SUPPORT
JOINT SHAFT
REAR AXLE PARTS
REAR AXLE PARTS
REAR AXLE PARTS
REAR AXLE PARTS
REAR AXLE DISK BRAKE
REAR AXLE DISK BRAKE
REAR AXLE SUBFRAME
REAR AXLE SUBFRAME
RING BEARING
FRONT AXLE PARTS
FRONT AXLE PARTS
FRONT AXLE
DISK BRAKE FRONT AXLE
DISK BRAKE FRONT AXLE
CASTER AXLE PARTS
CASTER AXLE PARTS
TRAILING AXLE
CARRIER FOR ARRESTING CYLINDER
DISK BRAKE CASTER AXLE
DISK BRAKE CASTER AXLE
AIR BAGS AND AIR SPRING DISK
AIR BAGS AND AIR SPRING DISK
SHOCK ABSORBER AND MOUNT
SHOCK ABSORBER AND MOUNT
AIR SUSPENSION
AIR SUSPENSION WITH KNEELING
AIR SUSPENSION
3RD AXLE RELIEVE
RAISE AND LOWER NEW EXECUTION
WHEELS AND TYRES
WHEEL CAPS
AIR DRYER
BRAKE SYSTEM
BRAKE SYSTEM
PLACEMENT FOR AIR TANK
PLACEMENT FOR AIR TANK
CONSOLE F. BRAKE LIGHT SWITCH
RUNNING BRAKE
BRAKE SYSTEM
CONTROL
STEARING WHEEL AND COVERING
STEERING
STEERING RIGHT-HAND DRIVE CAR
REVERSING LEVER BEARING
DIRECTION HYDRAULIQUE
BEVEL BOX
SERVOCOMTRONIC SPARE PARTS LIST
SERVOCOMTRONIC SPARE PARTS LIST
VANE PUMP
DRIVER'S PLACE (STEERING WHEEL)
DASH BOARD
INSTRUMENTS FOR DASH BOARD LE
DASH BOARD
INTRUMENTS FOR DASH BOARD RIGHT
SWITCHES FOR DASH BOARD
SWITCHES SYMBOLS DASH BOARD
MAIN SWITCHBOARD
EXTRA SWITCH PANELS
SWITCHBOX
E-SWITCH CASE REAR
FUSE
FUSE BOX AND FUSE WIRE
SWITCH BOX
OUTSIDE LIGHTING
INSIDELIGHTING
INSIDELIGHTING
WIPERS-WASHER SYSTEM
WIPER SYSTEM TOP
CRIMP CONNECTION INSULATED
FLAT PLUG SLEEVE HOUSING
FLAT PLUG HOUSING
PLUG HOUSING
FLAT PLUG HOUSING
CRIMP CONNECTION NOT INSULATED
PLUG
AMP PLUG AND SOCKET CONNECTION
AMP CYLINDRICAL TYPE CONNECTION
AMP CYLINDRICAL TYPE CONNECTION
PLUG AND SOCKET CONNECTION
PLUG AND SOCKET CONNECTION
PLUG AND SOCKET CONNECTION
REDUCING PARTS
FLAT PLUG HOUSING
JUNIO-POWER-TIMER PLUG
CABEL STRINGS
DIFFERENT CABLES
CABLE
CABLE
HORN / COMPRESSED AIR HORN
VOLTAGE TRANSFORMER
BATTERY AND BATTERY MOUNTING
BATTERY ISOLATING LINK
ACCIDENT - DATA RECORDER
RADIO, CD - PLAYER
ANTENNA RADIO COMMUNICATION
2-RANGE ANTENNA COUPLER
ALARM SYSTEM
NAVIGATION SYSTEM
DISTANCE- CONTROL- SYSTEM
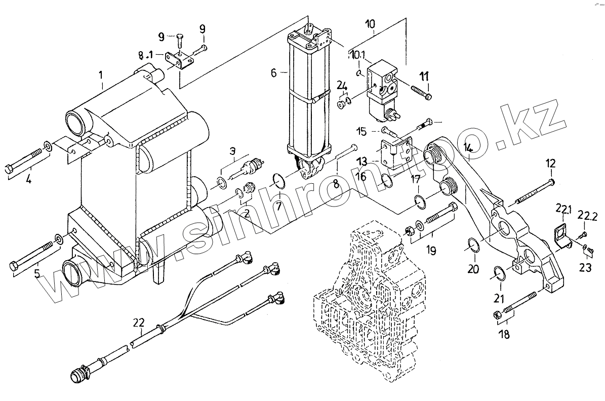
1
2
3
4
5
6
7
8
8.1
9
9
10
10.1
11
12
13
14
15
16
17
18
19
20
21
22
22.1
22.2
23
24
Позиция на иллюстрации
Заводской номер детали
Название детали
1
HEATEXCHANGER
HEAT EXCHANGER
2
0521.240.00
SCREW PLUG
2.1
SEALINGRING
SEALING RING
3
0521.078.00
TEMPERATURSENSOR
3.1
SEALINGRING
SEALING RING
4
WASHER
washer
4.1
0521.260.21
WASHER
5
WASHER
washer
5.1
0521.260.21
WASHER
6
0801.319.10
ACCUMULATOR
7
0521.080.10
O-RING
8
WASHER
washer
8.1
FIXINGPLATE
FIXING PLATE
9
WASHER
washer
10
SOLENOIDVALVE
SOLENOID VALVE
10.1
O-RING
O-RING
11
WASHER
washer
12
WASHER
washer
13
ANGLEBRACKET
ANGLE BRACKET
14
OILFEEDHOUSG.
OIL FEED HOUSG.
15
WASHER
washer
16
О-RING
О - RING
17
О-RING
О - RING
18
STUD
STUD
18.1
HEXAGONNUT
HEXAGON NUT
19
WASHER
washer
19.1
0521.260.21
WASHER
19.2
HEXAGONNUT
HEXAGON NUT
20
0521.080.10
O-RING
21
0521.080.10
O-RING
22
WIRING
WIRING
22.1
ANGLEBRACKET
ANGLE BRACKET
22.2
0521.005.20
HEXAGON SCREW
22.3
screw
screw
23
CAPSCREW
CAP SCREW
23.1
SPRINGWASHER
SPRING WASHER
24
ACCORDINGTOPIECES
ACCORDING TO PIECES. LISTAUSF.
Содержащиеся в справочниках-каталогах запасные части и детали не предлагаются к продаже, а носят исключительно информационный характер
Дополнительная информация
×
Название:
Номер:
Примечание: