Каталог запасных частей к технике: Neoplan N 3318 U E3. AIR SUSPENSION
1
2
3
4
4
4
4
4
4
5
5
5
6
7
7
8
9
10
10
11
11
11
11
12
12
13
14
14
15
16
17
18
18
19
19
19
19
20
21
22
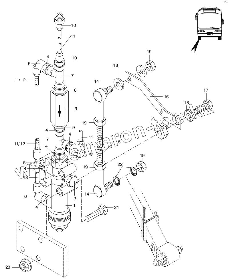
| Позиция на иллюстрации | Заводской номер детали | Название детали | |
|---|---|---|---|
| 1 | 11018608 | AIR SPRING VALVE | |
| 2 | 11019001 | SCREW PLUG | |
| 3 | 11017249 | NON RETURN VALVE | |
| 4 | 11018996 | PLUG CONNECTION | |
| 5 | 11018993 | CONNECTOR | |
| 6 | 11018992 | PLUG CONNECTION | |
| 7 | 11019006 | L-PIECE | |
| 8 | 11018999 | QUICK CONNECTOR | |
| 9 | 11019004 | CONNECTOR FOR PLUG-IN P5 | |
| 10 | 11018942 | CONNECTOR 8X1,0, M12X1,5, NR7232 | |
| 11 | 11016874 | HOSE | |
| 12 | 11028652 | hose | |
| 13 | 11016872 | BRAKE LINE | |
| 14 | 11053293 | joint | |
| 15 | 11053184 | threaded | |
| 16 | 11017257 | lever | |
| 17 | 11055511 | SCREW | |
| 18 | 11054679 | SPRING RING | |
| 19 | 11055815 | NUT | |
| 20 | 11055859 | NUT | |
| 21 | 11055533 | screw | |
| 22 | 11056596 | disc |
Содержащиеся в справочниках-каталогах запасные части и детали не предлагаются к продаже, а носят исключительно информационный характер