Каталог запасных частей к технике: Нефтекамский автозавод НефАЗ-52997. Установка аварийно-вентиляционного люка переднего
1
2
3
4
4
4
5
6
7
8
9
10
11
11
12
13
14
15
16
17
18
19
20
21
22
23
24
25
26
27
28
30
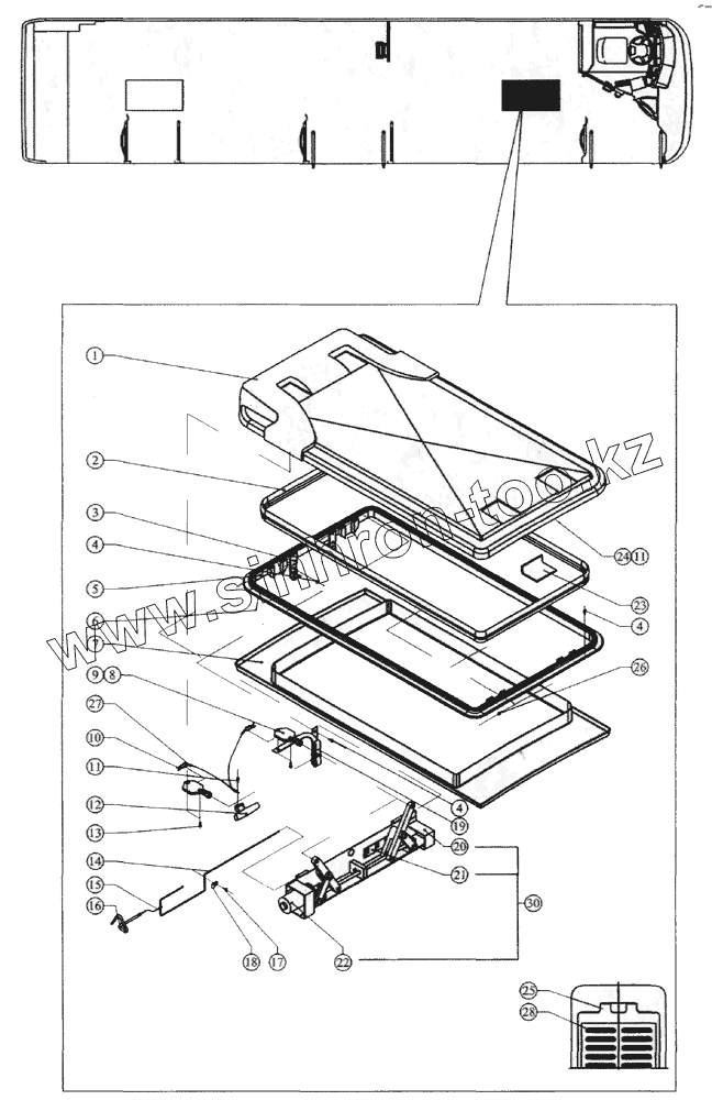
| Позиция на иллюстрации | Заводской номер детали | Название детали | |
|---|---|---|---|
| 1 | 23010220100 | Крышка | |
| 2 | 23010210300 | Верхний уплотнитель | |
| 3 | 23010220200 | Крюк (скоба) опоры | |
| 4 | 23020119400 | Винт | |
| 5 | 23010220300 | Внешняя рама | |
| 6 | 23020118400 | Нижний уплотнитель | |
| 7 | 23010220400 | Внутренняя рама | |
| 8 | 23010220500 | Крюк (скоба), правый | |
| 9 | 23010220600 | Крюк (скоба), левый | |
| 10 | 23020118600 | Штифт (чека) вентиляционного люка | |
| 11 | 23020119900 | Пластиковый винт | |
| 12 | 23020118900 | Аварийная (предохранительная) ручка, внутренняя | |
| 13 | 23020118700 | Пластиковый винт | |
| 14 | 23010220700 | Ось | |
| 15 | 23010220800 | Предохранительный трос, внешний | |
| 16 | 23010220900 | Механизм управления, внешний | |
| 17 | 23010221000 | Винт 3.5 Х 9.5 | |
| 18 | 23010221100 | Зажимная скоба 5-7 мм | |
| 19 | 23020119800 | Предохранительный трос | |
| 20 | 23010221200 | Механизм 24 В PAR: GЕ069 | |
| 21 | 23010210100 | Панель управления 12/24 В (21) Parabus:ERC31 | |
| 22 | 23010221300 | Двигатель 24 В PAR: GLЕ088 | |
| 23 | 23010221400 | Пластиковая крышка | |
| 24 | 23020112700 | Наклейка | |
| 25 | 23010221500 | Наклейка | |
| 26 | 23020119600 | Винт | |
| 27 | 23010221600 | Предохранительный трос | |
| 28 | 23020120000 | Вентиляционное отверстие | |
| 29 | 23010220000 | Электрический вентиляционный люк | |
| 30 | 23010221700 | Механизм открывания в сборе |
Содержащиеся в справочниках-каталогах запасные части и детали не предлагаются к продаже, а носят исключительно информационный характер