Каталог запасных частей к технике: ЛАЗ 695Б. Система питания
1
2
3
4
5
6
7
8
9
10
11
12
13
14
15
15
16
16
16
17
18
19
20
21
22
23
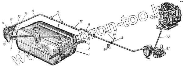
| Позиция на иллюстрации | Заводской номер детали | Название детали | |
|---|---|---|---|
| 252135-П2 | 252135-П2 | Шайба 8 пружинная | |
| 250511-П8 | 250511-П8 | Гайка М8х1 | |
| 414031-П | 414031-П | Шпилька М8-М8Х1Х35(1,5) | |
| 304014-П | 304014-П | Шпилька М8-М8Х1Х32(1,5) | |
| 252155-П2 | 252155-П2 | Шайба 8 пружинная | |
| 120-1101078 | 120-1101078 | Труба горловины топливного бака выдвижная в сборе | |
| 120-1106172 | 120-1106172 | Прокладка топливного насоса | |
| 120-1106170 | 120-1106170 | Прокладка топливного насоса | |
| 120-1103075 | 120-1103075 | Прокладка пробки топливного бака | |
| 121-1107035 | 121-1107035 | Прокладка карбюратора термоизоляционная | |
| 121-1107027 | 121-1107027 | Прокладка карбюратора | |
| 262542-П | 262542-П | Пробка КГ 1/4" | |
| 250511-П8 | 250511-П8 | Гайка М8х1 | |
| 1 | 201505-П8 | Болт М10х45 | |
| 2 | 250512-П8 | Гайка М10-6Н | |
| 3 | 695-1101103-Б | Уголок установки топливного бака задний | |
| 4 | 121-1101010 | Бак топливный в сборе | |
| 5 | 695Б-1101110 | Хомут топливного бака | |
| 6 | 695-1105016 | Штуцер | |
| 7 | 120-1103009 | Пробка топливного бака с цепочкой в сборе | |
| 8 | 695Б-1104020 | Трубка от топливного бака к фильтру-отстойнику в сборе | |
| 9 | 695Б-1101102 | Уголок установки топливного бака передний | |
| 10 | 150В-1105010 | Фильтр-отстойник топлива в сборе | |
| 11 | 695Б-1105080 | Кронштейн крепления фильтра-отстойника | |
| 12 | 201499-П2 | Болт М10х30 | |
| 13 | 252136-П8 | Шайба 10 пружинная | |
| 14 | 250512-П8 | Гайка М10-6Н | |
| 15 | 695Б-1104030 | Трубка от фильтра-отстойника к топливному насосу в сборе | |
| 16 | 695Б-1104033 | Хомут крепления трубки | |
| 17 | 305240-П8 | Ниппель проходной | |
| 18 | 252134-П2 | Шайба 6 пружинная | |
| 19 | 250508-П8 | Гайка М6-6Н | |
| 20 | 695-3506098 | Кронштейн винта в сборе | |
| 21 | 123-1106010-А | Насос топливный в сборе | |
| 22 | 158-1104054 | Трубка от топливного насоса к карбюратору в сборе | |
| 23 | 121-1107010 | Карбюратор МКЗ-К84 в сборе |
Содержащиеся в справочниках-каталогах запасные части и детали не предлагаются к продаже, а носят исключительно информационный характер