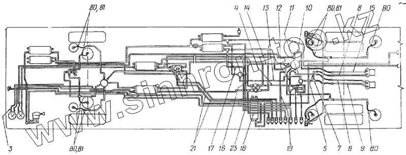
Каталог запасных частей к технике: ЛАЗ 5252. Трубопроводы тормозной системы
3
4
5
7
8
8
9
10
11
12
13
14
15
16
17
18
19
21
23
80
80
80
80
80
81
81
81
| Позиция на иллюстрации | Заводской номер детали | Название детали | |
|---|---|---|---|
| 252019-П29 | 252019-П29 | Шайба 20 | |
| В 52523-3805030 | В 52523-3805030 | Панель щитка приборов | |
| 52523-3506316 | 52523-3506316 | Переходник | |
| 52523-3506425 | 52523-3506425 | Переходник | |
| 699Р-3506426 | 699Р-3506426 | Переходник | |
| 4207-3506430 | 4207-3506430 | Гайка крепления трубопроводов | |
| 4207-3506425 | 4207-3506425 | Прокладка уплотнительная | |
| 52523-3506076 | 52523-3506076 | Табличка | |
| 52523-3506576 | 52523-3506576 | Труба | |
| 42071-3506580 | 42071-3506580 | Уголок ввертный | |
| 52523-3506427 | 52523-3506427 | Уголок ввертный | |
| 52523-3500002 | 52523-3500002 | Кран тормозной обратного действия с ручным управлением | |
| 695М-3506122 | 695М-3506122 | Хомут в сборе | |
| 201456-П29 | 201456-П29 | Болт М8-6gх20 | |
| 252134-П29 | 252134-П29 | Шайба 6 пружинная | |
| 252135-П29 | 252135-П29 | Шайба 8 | |
| 42021-3506438 | 42021-3506438 | Штуцер | |
| 52523-3506403 | 52523-3506403 | Штуцер | |
| 52523-3506409 | 52523-3506409 | Штуцер | |
| 52523-3506438 | 52523-3506438 | Штуцер | |
| 699Р-3506404 | 699Р-3506404 | Штуцер | |
| 699Р-3506405 | 699Р-3506405 | Штуцер | |
| 699Р-3506407 | 699Р-3506407 | Штуцер | |
| 699Р-3506408 | 699Р-3506408 | Штуцер | |
| 699Р-3506423 | 699Р-3506423 | Штуцер фланцевый | |
| 191716114 | 191716114 | Кольцо 014-01 8-25-2-1 | |
| 695Н-3506414 | 695Н-3506414 | Обойма диаметр 22 | |
| 200211-П29 | 200211-П29 | Болт М6х30 | |
| ММ125Д-3810600 | ММ125Д-3810600 | Выключатель пневматический сигнала торможения ММ125Д | |
| 695-3513026 | 695-3513026 | Гайка крепления тройника | |
| 250561 -П29 | 250561 -П29 | Гайка М16-6Н | |
| 250659-П29 | 250659-П29 | Гайка М22х1,5-6Н | |
| 250510-П29 | 250510-П29 | Гайка М8-6Н | |
| 250508-П29 | 250508-П29 | Гайка М6-6Н | |
| ММ124Д-3810600 | ММ124Д-3810600 | Датчик аварийного давления воздуха ММ124 Д | |
| 4202-3506422 | 4202-3506422 | Кольцо 010-014-25-2-2 | |
| 699А-2925147-01 | 699А-2925147-01 | Кольцо 14 | |
| 695В-1503018-Б | 695В-1503018-Б | Кольцо 22 | |
| Si 4207-3506437 | Si 4207-3506437 | Кронштейн | |
| М 695Ж-1707078 | М 695Ж-1707078 | Кронштейн клапана аварийного растормаживания | |
| 695Н-3506094 | 695Н-3506094 | Кронштейн переходника | |
| I 4202-3506094 | I 4202-3506094 | Кронштейн переходника | |
| А 695Н-3506094 | А 695Н-3506094 | Кронштейн переходника | |
| Р 699Р-3506094 | Р 699Р-3506094 | Кронштейн переходника | |
| У 695Н-3506094 | У 695Н-3506094 | Кронштейн переходника | |
| Ф 695Н-3506094 | Ф 695Н-3506094 | Кронштейн переходника | |
| 42021-3506416 | 42021-3506416 | Втулка | |
| 42021-3506418 | 42021-3506418 | Обойма диаметр 14 | |
| 42021-3506420 | 42021-3506420 | Кольцо 020-025-30-1-4 | |
| 3 | 52523-3506470 | Шланг соединительный к манометру | |
| 4 | 52523-3506502 | Труба | |
| 5 | 52523-3506504 | Труба | |
| 7 | 52523-3506506 | Труба | |
| 8 | 52523-3506508 | Труба | |
| 9 | 52523-3506510 | Труба | |
| 10 | 52523-3506512 | Труба | |
| 11 | 52523-3506514 | Труба | |
| 12 | 52523-3506516 | Труба | |
| 13 | 52523-3506518 | Труба | |
| 14 | 52523-3506520 | Труба | |
| 15 | 52523-3506522 | Труба | |
| 16 | 52523-3506524 | Труба | |
| 17 | 52523-3506580 | Труба | |
| 18 | 52523-3506592 | Труба | |
| 19 | 52523-3506600 | Труба | |
| 20 | 52523-3506608 | Труба | |
| 21 | 52523-3506614 | Труба | |
| 22 | 52523-3506616 | Труба | |
| 23 | 52523-3506620 | Труба | |
| 24 | 52523-3506622 | Труба | |
| 26 | 52523-3504110 | Трубка | |
| 27 | 4207-3506109 | Уплотнитель трубопроводов | |
| 28 | 42021-3506257 | Переходник | |
| 29 | 4207-3506310 | Переходник | |
| 80 | 699Р-3506360 | Шланг гибкий тормозных камер | |
| 81 | 699Р-3506360 | Шланг гибкий тормозных камер |
Содержащиеся в справочниках-каталогах запасные части и детали не предлагаются к продаже, а носят исключительно информационный характер