Каталог запасных частей к технике: King Long Автобус XMQ-6129Y. EXHAUST SYSTEM
1
2
3
4
5
6
7
8
9
10
11
11
12
13
14
15
16
17
18
19
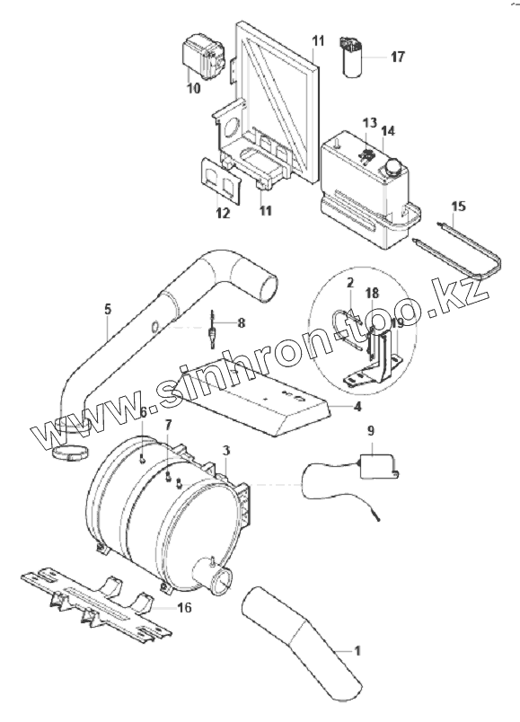
| Позиция на иллюстрации | Заводской номер детали | Название детали | |
|---|---|---|---|
| 212400015 | 212400015 | Post-processing system | |
| 311700435 | 311700435 | Framework, post processor | |
| 212200160 | 212200160 | Injection carrier | |
| 1 | 370400855 | Exhaust tail pipe | |
| 2 | 380100390 | Clip | |
| 3 | 212200223 | Post processor | |
| 4 | 313300156 | Heat insulating cover | |
| 5 | 370400854 | Exhaust pipe assembly | |
| 6 | 212200140 | Intake temperature sensor | |
| 7 | 212200270 | Exhaust temperature sensor | |
| 8 | 212200250 | Urea injector | |
| 9 | 212200280 | Nox sensor | |
| 10 | 212200170 | Urea metering pump | |
| 11 | 311800790 | Bracket, urea tank | |
| 12 | 311800070 | Side pressure plate , urea tank | |
| 13 | 212200168 | Temperature sensor | |
| 14 | 212200181 | Urea tank assy | |
| 15 | 380200170 | Drawstring , urea tank | |
| 16 | 311700346 | Bracket, post processor | |
| 17 | 212200180 | Separator, oil / air | |
| 18 | 311700200 | Bracket, exhaust pipe | |
| 19 | 311700313 | Bracket, exhaust pipe |
Содержащиеся в справочниках-каталогах запасные части и детали не предлагаются к продаже, а носят исключительно информационный характер