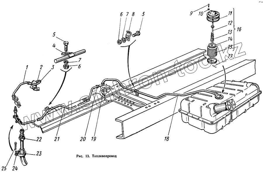
Каталог запасных частей к технике: КАВЗ-685. Топливопровод
1
2
3
4
5
5
5
6
6
7
7
8
9
10
11
12
13
14
15
16
17
18
19
20
21
22
23
24
25
| Позиция на иллюстрации | Заводской номер детали | Название детали | |
|---|---|---|---|
| 685-1104075 | 685-1104075 | Гайка упорная | |
| 685-1104072 | 685-1104072 | Гайка упорная | |
| 685-1104071 | 685-1104071 | Трубка от топливного бака | |
| 69-1104089 | 69-1104089 | Оболочка защитная трубки топливопровода от топливоотстойника к топливному насосу | |
| 439500 | 439500 | Муфта конусная | |
| 1 | 53-1104134 | Трубка топливопровода от насоса к фильтру в сборе | |
| 2 | 298353-П2 | Штуцер К1/4 для присоединения пробки к фильтру угловой | |
| 3 | 53-1104138 | Трубка топливопровода от фильтра к карбюратору в сборе | |
| 4 | 297480-П8 | Скоба крепления трубки | |
| 5 | 201455-П8 | Болт М8Х 18 крепления петли к кузову | |
| 5 | 201455-П8 | Болт М8Х 18 крепления петли к кузову | |
| 6 | 250510-П8 | Гайка М8 | |
| 6 | 250510-П8 | Гайка М8 | |
| 7 | 252135-П2 | Шайба пружинная 8 | |
| 7 | 252135-П2 | Шайба пружинная 8 | |
| 8 | 66-1104145 | Скоба крепления трубки к поперечине | |
| 9 | 224598-П8 | Винт М5Х12 крепления фланца приемной трубки топливопровода | |
| 10 | 293196-П | Шайба 5,5 | |
| 11 | 12-1104022 | Прокладка фланца приемной трубки топливопровода | |
| 12 | 66-1104016 | Труба в сборе | |
| 13 | 66-1104033 | Пружина фланца фильтра приемной трубы топливопровода крепления фланца | |
| 14 | 66-1104040 | Фланец фильтра приемной трубки топливопровода | |
| 15 | 21-1104027 | Фильтр приемной трубы топливопровода в сборе | |
| 16 | 66-1104012 | Труба приемная топливопровода с фильтром в сборе | |
| 17 | 258726-П8 | Штифт 4Х22 приемной трубки топливопровода | |
| 18 | 685-1104070 | Трубка от топливного бака в сборе | |
| 19 | 298354-П7 | Штуцер К1/4" для присоединения трубки к отстойнику угловой | |
| 20 | 298355-П8 | Штуцер К1/4" для присоединения трубки к отстойнику прямой | |
| 21 | 53-1104085 | Трубка топливопровода к насосу в сборе | |
| 22 | 53-1104100 | Шланг топливопровода гибкий в сборе | |
| 23 | 297581-П8 | Лента хомутика тяги привода замка капота стяжная | |
| 24 | 297580-П8 | Пряжка хомутика | |
| 25 | 297575-П8 | Шплинт пряжки хомутика |
Содержащиеся в справочниках-каталогах запасные части и детали не предлагаются к продаже, а носят исключительно информационный характер