Каталог запасных частей к технике: Karosa C 734. Воздушный резервуар
442 07487 172 1
1
2
3
3
6
6
6
7
7
8
9
10
11
11
11
11
12
14
14
14
14
14
15
15
15
15
15
15
16
16
17
17
18
18
19
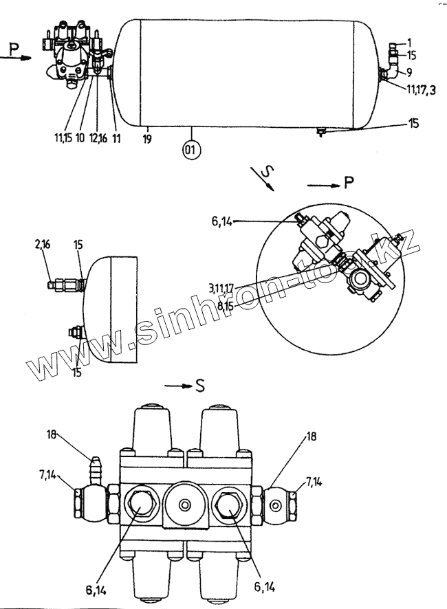
| Позиция на иллюстрации | Заводской номер детали | Название детали | |
|---|---|---|---|
| 442 07487 172 1 | 442 07487 172 1 | Воздушный резервуар | |
| 1 | 442 05365 099 1 | Горловина | |
| 2 | 442 05365 162 1 | Редукционная горловина | |
| 3 | 442 03164 005 1 | Тарелка уплотнительного кольца | |
| 6 | [Горловина 12х10-32 ТGL 35 135] | Горловина 12х10-32 ТGL 35 135 | |
| 7 | [Болт А12 ТGL 21619] | Болт А12 ТGL 21619 | |
| 8 | [Муфта удлиненная SС 15gаlZnс ТGL 10491] | Муфта удлиненная SС 15gаlZnс ТGL 10491 | |
| 9 | [Колено SН 15-1 gаl Znс ТGL 10491] | Колено SН 15-1 gаl Znс ТGL 10491 | |
| 10 | [Т-муфта удлиненная SМ 15-1gаlZnс ТGL 10 491] | Т-муфта удлиненная SМ 15-1gаlZnс ТGL 10 491 | |
| 11 | [Гайка М22х1,5 ТGL 0-80 705] | Гайка М22х1,5 ТGL 0-80 705 | |
| 12 | [Гайка М22х1,5 03-0601.02] | Гайка М22х1,5 03-0601.02 | |
| 14 | [Кольцо уплотнительное 16х20 СSN 02 9310.3] | Кольцо уплотнительное 16х20 СSN 02 9310.3 | |
| 15 | [Кольцо уплотнительное 22х27 СSN 02 9310 3] | Кольцо уплотнительное 22х27 СSN 02 9310 3 | |
| 16 | [Кольцо уплотнительное 13х20х1,5 СSN02 9310 8] | Кольцо уплотнительное 13х20х1,5 СSN02 9310 8 | |
| 17 | ["О" кольцо 20х2 СSN 02 9281 2] | О-кольцо 20х2 СSN 02 9281 2 | |
| 18 | 442 05362 051 1 | Штуцер | |
| 19 | 443 612 461 827 | Воздушный резервуар 38л |
Содержащиеся в справочниках-каталогах запасные части и детали не предлагаются к продаже, а носят исключительно информационный характер