Каталог запасных частей к технике: Karosa C 734. Система управления двигателем и сцеплением
1
3
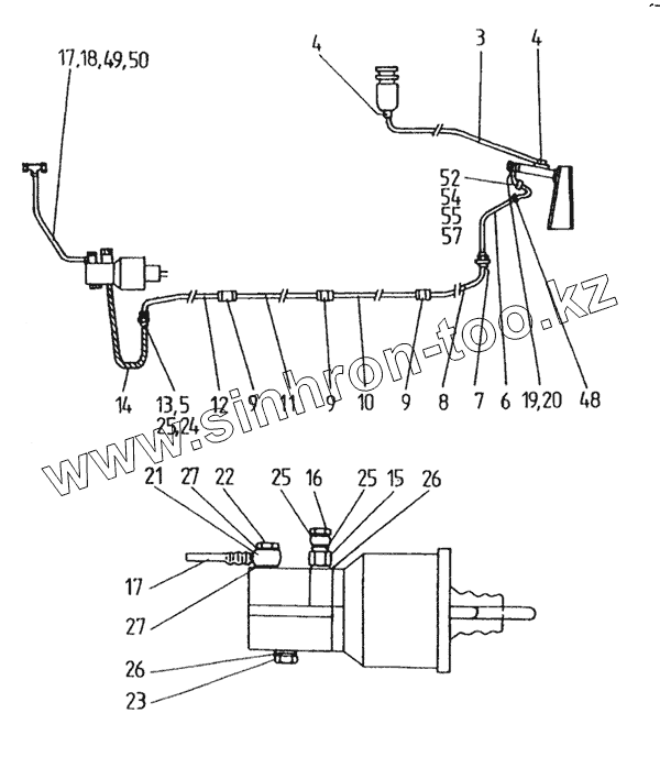
4
4
5
6
7
8
9
9
9
10
11
12
13
14
15
16
17
17
18
19
20
21
22
23
24
25
25
25
26
26
27
27
48
49
50
52
54
55
57
| Позиция на иллюстрации | Заводской номер детали | Название детали | |
|---|---|---|---|
| 1 | 443 611 071 004 | Уравнительный бачок с двумя выводами | |
| 3 | [Шланг R6х13 ЕLSАТ РND 21/435-78] | Шланг d6х13 ЕLSАТ РND 21/435-78 | |
| 4 | [Обойма R10-R16] | Обойма d10-d16 | |
| 5 | [Шайба 15 СSN 02 1702.15] | Шайба 15 СSN 02 1702.15 | |
| 6 | 442 05308 468 1 | Трубка | |
| 7 | 442 07625 018 1 | Муфта R-8 | |
| 8 | 442 08301472 1 | Трубка | |
| 9 | 442 05373 072 1 | Муфта Е-8 | |
| 10 | 442 05306 617 1 | Трубка | |
| 11 | 442 0530Й 474 1 | Трубка | |
| 12 | 442 05308 467 1 | Трубка | |
| 13 | 442 05365 110 1 | Редуктор | |
| 14 | [Тормозной шланг СD 500 СSN 30 3527 2] | Тормозной шланг СD 500 СSN 30 3527 2 | |
| 15 | 442 05365 178 1 | Редуктор | |
| 16 | 442 05238 349 1 | Болт А8 | |
| 17 | 283 351 220 111 | Трубка d6х1 | |
| 18 | 442 03202 051 1 | Вставка Е6 893 040 210 4 | |
| 19 | 442 05361 033 1 | Кольцо уплотнительное 8 | |
| 20 | 442 05291 1 | Гайка накидная 8 | |
| 21 | 442 05362 050 1 | Штуцер | |
| 22 | 442 05238 351 1 | Болт А12 | |
| 23 | [Пробка М14х1,5 СSN 13 7964 1] | Пробка М14х1,5 СSN 13 7964 1 | |
| 24 | [Держатель торм шланга 14 ОNА 30 3522] | Держатель тормозного шланга 14 ОNА 30 3522 | |
| 25 | [Кольцо уплотнительное R 12х18 СSN 02 9310.3] | Кольцо уплотнительное d12х18 СSN 02 9310.3 | |
| 26 | [Кольцо уплотнительное R14х18 СSN 02 9310.3] | Кольцо уплотнительное d14х18 СSN 02 9310.3 | |
| 27 | [Кольцо уплотнительное R16х22 СSN 02 9310.3] | Кольцо уплотнительное d16х22 СSN 02 9310.3 | |
| 28 | 442 05308 471 1 | Трубка | |
| 29 | 442 05309 516 1 | Трубка | |
| 30 | [Шланг АА 6х320 НFРS 1В 111] | Шланг АА 6х320 НFРS 1В 111 | |
| 31 | [Болт М6х60 СSN 02 1103 25] | Болт М6х60 СSN 02 1103 25 | |
| 32 | 443 611 041 004 | Рабочий цилиндр d22 | |
| 33 | 442 03067 196 1 | Кронштейн | |
| 34 | 442 90784 139 1 | Кронштейн | |
| 35 | 442 07506 265 1 | Тяга | |
| 36 | 442 05051 161 1 | Пружина | |
| 37 | 442 05050 180 1 | Втулка | |
| 38 | 442 05356 212 1 | Редуктор | |
| 39 | 442 02901 152 1 | Рычажок | |
| 40 | 442 05003 029 1 | Палец | |
| 41 | 442 07506 263 1 | Тяга | |
| 41 | 442 07560 133 1 | Тяга | |
| 42 | 442 07471 399 1 | Рычажок | |
| 43 | 442 07371 007 1 | Поводок | |
| 44 | 421 05051 084 1 | Пружина | |
| 45 | 442 02750 002 1 | Предохранитель | |
| 46 | 442 02948 024 1 | Вилка | |
| 48 | 442 05449 0191 | Стягивающая лента 200 | |
| 49 | 442 05361 032 1 | Кольцо уплотнительное 6 | |
| 50 | 442 05291 089 1 | Гайка накидная А6 | |
| 51 | [Шплинт 1.6х12 СSN 02 1781 05] | Шплинт 1.6х12 СSN 02 1781 05 | |
| 52 | [Шайба 6,4 СSN 02 1702.15] | Шайба 6,4 СSN 02 1702.15 | |
| 53 | [Шайба 6 СSN02 1740 05] | Шайба 6 СSN02 1740 05 | |
| 54 | [Болт М6х16 СSN02 110125] | Болт М6х16 СSN02 110125 | |
| 55 | [Гайка М6 СSN02 1401.25] | Гайка М6 СSN02 1401.25 | |
| 56 | [Кольцо уплотнительное 10х14 СSN 02 9310 3] | Кольцо уплотнительное 10х14 СSN 02 9310 3 | |
| 57 | [Зажим RSGU 1.8/15-W1] | Зажим RSGU 1.8/15-W1 | |
| 58 | 442 03067 338 1 | Кронштейн |
Содержащиеся в справочниках-каталогах запасные части и детали не предлагаются к продаже, а носят исключительно информационный характер