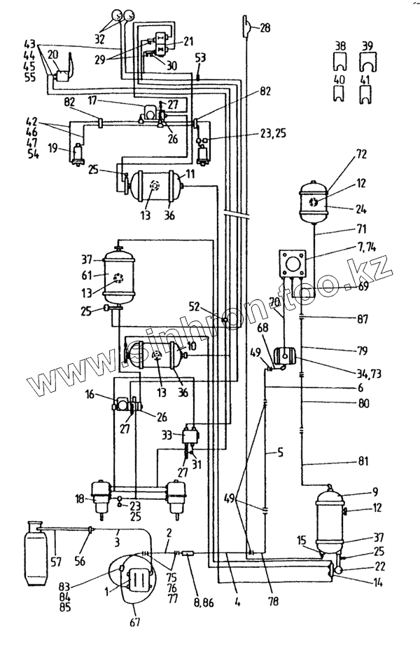
Каталог запасных частей к технике: Karosa C 734. Система распределения воздуха
1
2
3
4
5
6
7
8
9
10
11
12
12
13
13
13
14
15
16
17
18
19
20
21
22
23
23
24
25
25
25
25
25
26
26
27
27
27
28
29
30
31
32
33
34
36
36
37
37
38
39
40
41
42
43
44
45
46
47
49
49
52
53
54
55
56
57
61
67
68
69
70
71
72
73
74
75
76
77
78
79
80
81
82
82
83
84
85
86
87
| Позиция на иллюстрации | Заводской номер детали | Название детали | |
|---|---|---|---|
| 1 | 443 614 091 800 | Компрессор 4191 | |
| 2 | 5 010 197 251 | Шланг R.V I | |
| 3 | 442 06310 206 1 | Трубка | |
| 4 | 442 06302 188 1 | Трубка | |
| 5 | 442 05302 190 1 | Трубка | |
| 6 | 442 05302 189 1 | Трубка | |
| 7 | 442 07440 086 1 | Сушитель | |
| 8 | [Кран подкачки шин тип 4478] | Кран подкачки шин тип 4478 | |
| 9 | 442 0748/ 172 1 | Воздушный резервуар | |
| 10 | 442 07487 156 1 | Воздушный резервуар | |
| 11 | 442 07487 124 1 | Воздушный резервуар | |
| 12 | 466 1122 5 | Водосливной клапан WIRА | |
| 13 | 443 612 061 001 | Водосливной клапан | |
| 14 | 443 612 074 701 | Четырехмагистральный предохранительный клапан | |
| 15 | 443 612 081 001 | Обратный клапан | |
| 16 | 442 07484 040 1 | Автоматический нагрузочный регулятор | |
| 17 | 442 07484 039 1 | Автоматический нагрузочный регулятор | |
| 18 | 443612 193018 | Пружинный тормозной цилиндр | |
| 19 | 443 612 164 007 | Тормозной цилиндр d100 | |
| 20 | 442 07934 143 1 | Клапан ручного тормоза | |
| 21 | 443 612 226 003 | Тормозной кран | |
| 22 | 443 612 086 802 | Редукционный клапан тип 4458 | |
| 23 | 442 07826 048 1 | Арматура | |
| 24 | 442 07487 165 1 | Воздушный резервуар | |
| 25 | 443 612 111 000 | Контрольный штуцер А | |
| 26 | 443 612 112 000 | Контрольный штуцер В | |
| 27 | 443 612113 000 | Контрольный штуцер С | |
| 28 | 442 07837 004 1 | Соединительная головка с заслонкой | |
| 29 | 443 852 098 040 | Пневматический включатель 700кПа | |
| 30 | 443 852 118 040 | Пневматический включатель 900 кПа | |
| 31 | 443 852 097 040 | Пневматический включатель 630 кПа | |
| 32 | 443 415 069 000 | Манометр | |
| 33 | 442 07934 171 1 | Клапан управления | |
| 34 | 442 07445 002 1 | Маслоотделитель | |
| 35 | [Электромагнитный клапан] | Электромагнитный клапан | |
| 36 | 442 07656 048 1 | Лента | |
| 37 | 442 07656 053 1 | Лента | |
| 38 | 321 820 989 232 | Зажим d8 442 90798 260 1 | |
| 39 | 321 820 989 131 | Зажим d15 442 90798 182 1 | |
| 40 | 321 820 989 122 | Зажим d6 442 90798 177 1 | |
| 41 | 321 820 989 123 | Зажим d10 442 90798 179 1 | |
| 42 | 442 03202 048 1 | Прокладка 10 | |
| 43 | 442 03202 051 1 | Вставка Е6 893 040 210 4 | |
| 44 | [Гайка накидная 6L-А ТGL 0-3870] | Гайка накидная 6L-А ТGL 0-3870 | |
| 45 | [Кольцо уплотнительное 6L-S ТGL 0-3861] | Кольцо уплотнительное 6L-S ТGL 0-3861 | |
| 46 | [Гайка накидная 10L-А ТGL 0-3870] | Гайка накидная 10L-А ТGL 0-3870 | |
| 47 | [Кольцо уплотнительное 10L-S ТGL 0-3861] | Кольцо уплотнительное 10L-S ТGL 0-3861 | |
| 48 | [Лента уплотнительная РТFЕ 0,08х12х150] | Лента уплотнительная РТFЕ 0,08х12х150 | |
| 49 | [Муфта Js13 СSN 13 7730] | Муфта Js13 СSN 13 7730 | |
| 52 | 442 05449 020 1 | Лента стягивающая 350 | |
| 53 | 442 05449 019 1 | Лента стягивающая 200 | |
| 54 | [Трубка R10х1 РА 12-РND 21/590-84-01] | Трубка d10х1 РА 12-РND 21/590-84-01 | |
| 55 | [Трубка R6х1 РА 12-РND 21/590-84-01] | Трубка d6х1 РА 12-РND 21/590-84-01 | |
| 56 | [Шланговая обойма R32 SОLIDОR ТGL29 732] | Шланговая обойма d32 SОLIDОR ТGL29 732 | |
| 57 | [Шланг 20\28 СSN 63 5387] | Шланг 20\28 СSN 63 5387 | |
| 60 | VF-350кР-1/АL | Лента изоляционная NЕТЕS | |
| 61 | 442 07487 158 1 | Воздушный резервуар | |
| 62 | 443 962 423 005 | Горловина | |
| 63 | [Кольцо уплотнительное 12х18 СSN 02 9310 3] | Кольцо уплотнительное 12х18 СSN 02 9310 3 | |
| 64 | [Кольцо уплотнительное 10х14 СSN 02 9310 3] | Кольцо уплотнительное 10х14 СSN 02 9310 3 | |
| 65 | 442 05362 052 1 | Штуцер | |
| 66 | 443 96242 100 2 | Приводной винт М10х1 | |
| 67 | 442 05302 200 1 | Трубка | |
| 68 | 442 05302 192 1 | Трубка | |
| 69 | 442 05302 173 1 | Трубка | |
| 70 | 442 05302 1971 | Трубка | |
| 71 | 442 05302 199 1 | Трубка | |
| 72 | 442 03024 290 1 | Лента | |
| 73 | 442 03024 291 1 | Лента | |
| 74 | 442 05201 237 1 | Болт М12х1,5х25 | |
| 75 | 442 05365 269 1 | Горловина | |
| 76 | 442 05361 037 1 | Кольцо уплотнительное А18 | |
| 77 | 442 05291 095 1 | Гайка накидная 18 | |
| 78 | 442 05302 191 1 | Трубка | |
| 79 | 442 05302 194 1 | Трубка | |
| 80 | 442 05302 195 1 | Трубка | |
| 81 | 442 05302 196 1 | Трубка | |
| 82 | 442 25448 105 5 | Пучок РА трубок | |
| 83 | 442 03067 394 1 | Кронштейн | |
| 84 | 442 90798 264 1 | Зажим | |
| 85 | 442 05119 194 1 | Подкладка | |
| 86 | 442 03067 778 1 | Кронштейн | |
| 87 | 442 05373 089 1 | Соединительная деталь |
Содержащиеся в справочниках-каталогах запасные части и детали не предлагаются к продаже, а носят исключительно информационный характер