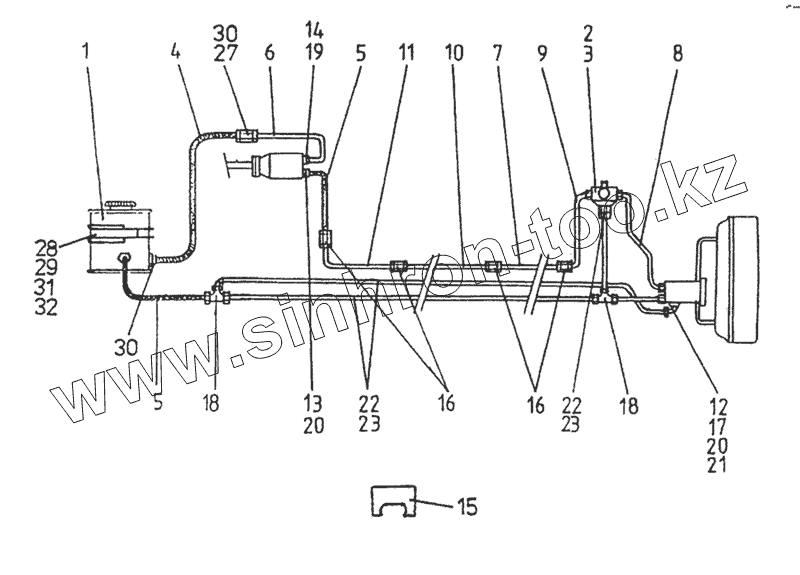
Каталог запасных частей к технике: Karosa C 734. Система распределения масла (под давлением) привода вентилятора
1
2
3
4
5
5
6
7
8
8
9
10
11
12
13
14
15
16
16
17
18
18
19
20
20
21
22
22
23
23
27
28
29
30
30
31
32
| Позиция на иллюстрации | Заводской номер детали | Название детали | |
|---|---|---|---|
| 1 | 336 676 155 213 | Масляный бак NО5 25-8 | |
| 1.1 | 627 962 320 523 | Фильтрующий вкладыш Н23 | |
| 2 | 442 07934 153 1 | Перепускной клапан | |
| 3 | [Перепускной клапан VРе 16мм ТРF 01-341373] | Перепускной клапан VРе 16мм ТРF 01-341373 | |
| 4 | 442 02237 181 1 | Обойма | |
| 5 | 442 05311 483 1 | Шланг 20х560 | |
| 6 | [Шланг НV 722-13-1515/450] | Шланг НV 722-13-1515/450 | |
| 7 | 442 05308 476 1 | Трубка | |
| 8 | 442 05309 117 1 | Трубка | |
| 8 | 442 05309 117 1 | Трубка | |
| 9 | 442 05309 116 1 | Трубка | |
| 10 | 442 05310 475 1 | Трубка | |
| 11 | 442 05310 895 1 | Трубка | |
| 12 | 442 05359 225 1 | Редуктор | |
| 13 | 447 05365 112 1 | Горловина | |
| 14 | [Редуктор С22-25 0-2353 St-gаl Zn] | Редуктор С22-25 0-2353 St-gаl Zn | |
| 15 | 442 90798 182 1 | Зажим | |
| 16 | [Муфта Е15L-32 0-2353St-gаlZn] | Муфта Е15L-32 0-2353St-gаlZn | |
| 17 | [Колено НV 15L gаl Zn] | Колено НV 15L gаl Zn | |
| 18 | [Т-муфта Q15-32 0 2353 gаl Zn] | Т-муфта Q15-32 0 2353 gаl Zn | |
| 19 | [Кольцо уплотнительное R27х32 СSN 02 9310.3] | Кольцо уплотнительное d27х32 СSN 02 9310.3 | |
| 20 | [Кольцо уплотнительное R22х27 СSN 02 9310 3] | Кольцо уплотнительное d22х27 СSN 02 9310 3 | |
| 21 | [Кольцо уплотнительное 018х24 СSN 02 9310.3] | Кольцо уплотнительное d18х24 СSN 02 9310.3 | |
| 22 | 283 351 220 441 | Трубка d15х1,5 | |
| 23 | 442 03202 049 1 | Прокладка 15 | |
| 27 | 442 05356 359 1 | Горловина | |
| 28 | 442 05101 631 1 | Прокладка | |
| 29 | 442 07656 075 1 | Лента | |
| 30 | [Скоба ТОRRО 32-5О/9С7W3] | Скоба ТОRRО d32-5О/9С7W3 | |
| 31 | [Гайка М10 СSN 02 1401.25] | Гайка М10 СSN 02 1401.25 | |
| 32 | [Шайба 10 СSN02 174005] | Шайба 10 СSN02 174005 |
Содержащиеся в справочниках-каталогах запасные части и детали не предлагаются к продаже, а носят исключительно информационный характер