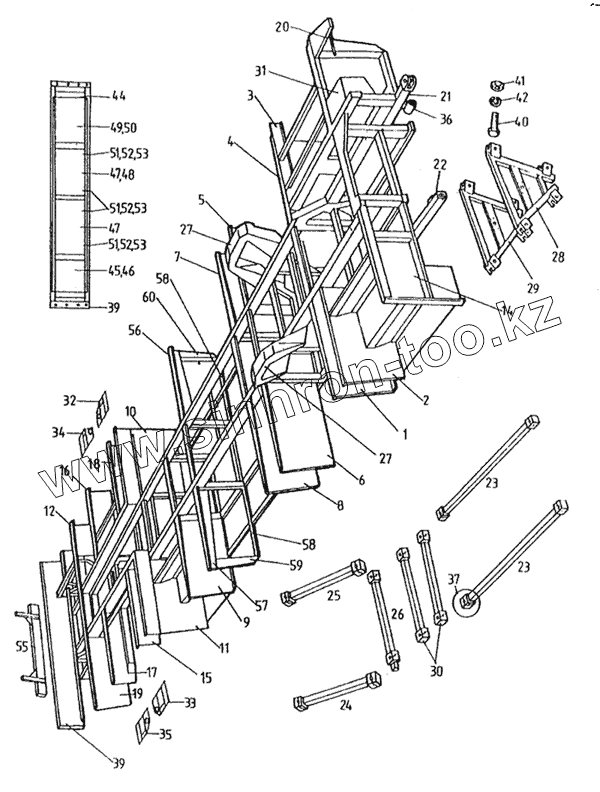
Каталог запасных частей к технике: Karosa C 734. Рама шасси
442 07550 461 1
1
2
2
3
3
4
4
5
6
7
8
9
10
11
12
14
15
16
17
18
19
20
21
22
23
23
24
25
26
27
27
28
29
30
31
32
33
34
35
36
37
39
39
40
41
42
44
45
46
47
47
48
49
50
51
51
51
52
52
52
53
53
53
55
56
57
58
58
59
60
| Позиция на иллюстрации | Заводской номер детали | Название детали | |
|---|---|---|---|
| 442 07550 461 1 | 442 07550 461 1 | Рама шасси | |
| 1 | 442 07557 663 1 | Траверса рамы | |
| 2 | 442 07550 460 1 | Средняя часть рамы | |
| 2 | 442 07557 439 1 | Траверса рамы | |
| 3 | 442 07556 663 1 | Продольная балка рамы правая | |
| 3 | 447 07557 384 1 | Траверса рамы | |
| 4 | 447 03005 824 1 | Траверса рамы | |
| 4 | 442 0/556 664 1 | Продольная балка рамы левая | |
| 5 | 442 03005 684 1 | Траверса рамы | |
| 6 | 442 03005 885 1 | Траверса рамы | |
| 7 | 442 03005 450 1 | Траверса рамы | |
| 8 | 442 03005 455 1 | Траверса рамы | |
| 9 | 442 07557 453 1 | Траверса рамы | |
| 10 | 442 07557 830 1 | Траверса рамы | |
| 11 | 442 07557 652 1 | Траверса рамы | |
| 12 | 442 03006645 1 | Траверса рамы | |
| 14 | 442 07557 628 1 | Траверса рамы | |
| 15 | 442 07557 585 1 | Траверса рамы | |
| 16 | 442 07557 664 1 | Траверса рамы | |
| 17 | 442 07557 665 1 | Траверса рамы | |
| 18 | 442 07557 584 1 | Траверса рамы | |
| 19 | 442 07557 574 1 | Траверса рамы | |
| 20 | 442 07579 159 1 | Кронштейн | |
| 21 | 442 07556 255 1 | Продольная балка | |
| 22 | 442 07579 103 1 | Кронштейн бампера | |
| 23 | 442 07556 524 1 | Съемная продольная балка рамы | |
| 24 | 442 07556 317 1 | Съемная продольная балка рамы | |
| 25 | 442 07556 392 1 | Съемная продольная балка | |
| 26 | 442 07556 416 1 | Съемная поперечная балка | |
| 27 | 442 07553 001 1 | Балка подвески в комплекте | |
| 28 | 442 07553 003 1 | Несущая балка передняя | |
| 29 | 442 07553 004 1 | Несущая балка задняя | |
| 30 | 442 07557 436 1 | Траверса рамы | |
| 31 | 442 07579 054 1 | Кронштейн рулевого сервоуправления | |
| 32 | 442 07579 142 1 | Кронштейн гофрированной воздушной пружины | |
| 33 | 442 07579 143 1 | Кронштейн гофрированной воздушной пружины | |
| 34 | 442 07579 144 1 | Кронштейн гофрированной воздушной пружины | |
| 35 | 442 07579 145 1 | Кронштейн гофрированной воздушной пружины | |
| 36 | 442 07579 070 1 | Кронштейн радиатора | |
| 37 | 447 07572 046 1 | Соединительная часть продольной балки | |
| 39 | 442 07557 614 1 | Траверса рамы | |
| 40 | [Болт М16х130 СSN02 1101.55] | Болт М16х130 СSN02 1101.55 | |
| 41 | [Гайка М16 СSN02 1401.25] | Гайка М16 СSN02 1401.25 | |
| 42 | [Шайба 16 СSN 02 1740.05] | Шайба 16 СSN 02 1740.05 | |
| 44 | 442 03564 010 1 | Кожух | |
| 45 | 4442 94240 280 1 | Изоляция S=4мм | |
| 46 | 442 04240 258 1 | Изоляция S=25мм | |
| 47 | 442 94240 256 1 | Изоляция S=4мм | |
| 48 | 442 04240 259 1 | Изоляция S=25мм | |
| 49 | 442 04240 257 1 | Изоляция S=4мм | |
| 50 | 442 04240 260 1 | Изоляция S=25мм | |
| 51 | [Болт М12х120 СSN 02 1101.55] | Болт М12х120 СSN 02 1101.55 | |
| 52 | [Шайба 12 СSN 02 1740 05] | Шайба 12 СSN 02 1740 05 | |
| 53 | 442 05116 163 1 | Шайба | |
| 55 | 442 07167 271 1 | Кронштейн бампера | |
| 56 | 442 07557 518 1 | Траверса рамы | |
| 57 | 442 07567 375 1 | Траверса рамы | |
| 58 | 442 0 3005 386 1 | Траверса рамы | |
| 59 | 442 03005 387 1 | Траверса | |
| 60 | 442 03005 388 1 | Траверса |
Содержащиеся в справочниках-каталогах запасные части и детали не предлагаются к продаже, а носят исключительно информационный характер