Каталог запасных частей к технике: Karosa C 734. Приборная доска
442 07899 706 1
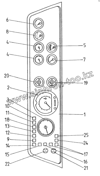
1
2
3
4
4
5
6
7
8
9
10
11
12
13
14
15
16
17
18
19
20
21
22
24
25
| Позиция на иллюстрации | Заводской номер детали | Название детали | |
|---|---|---|---|
| 442 07899 706 1 | 442 07899 706 1 | Электрическое оборудование панели | |
| 1 | 442 96053 230 1 | Приборная доска | |
| 2 | КG 8406701 | Спидометр | |
| 3 | 443 412 158 080 | Тахометр | |
| 4 | 443 415 099 000 | Манометр | |
| 5 | 443 425 002 901 | Вольтметр | |
| 6 | 443 422 059 031 | Указатель уровня топлива | |
| 7 | 443 414 I02 080 | Термометр | |
| 8 | 443 415 048 901 | Манометр | |
| 9 | 443 317 070 109 | Контрольная лампа оранжевая | |
| 10 | 443 317 032 109 | Контрольная лампа зеленая | |
| 11 | 443 317 031 109 | Контрольная лампа зеленая | |
| 12 | 443 317 039 109 | Контрольная лампа зеленая | |
| 13 | 443 317 025 109 | Контрольная лампа синяя | |
| 14 | 443 317 054 109 | Контрольная лампа желтая | |
| 15 | 443 317 059 109 | Контрольная пампа оранжевая | |
| 16 | 443 317 038 109 | Контрольная лампа зеленая | |
| 17 | 443 317 048 109 | Контрольная лампа красная | |
| 18 | 443 317 041 109 | Контрольная лампа красная | |
| 19 | 443 317 209 002 | Комбинированный ламповый прибор | |
| 20 | 443 317 207 002 | Комбинированный ламповый прибор | |
| 21 | 443 853 263 040 | Переключатель | |
| 22 | 443 853 248 040 | Переключатель поворотный | |
| 23 | 347 225 3322 | Лампочка 24В/2Вт | |
| 24 | 443 317 060 109 | Контрольная лампа оранжевая | |
| 25 | 443 317 072 109 | Контрольная лампа красная |
Содержащиеся в справочниках-каталогах запасные части и детали не предлагаются к продаже, а носят исключительно информационный характер