Вернуться на главную
Поиск
Каталоги запчастей к технике
Автобусы
Karosa
C 734
Пол, ступени
Каталог запасных частей к технике: Karosa C 734. Пол, ступени
zoom-in
zoom-out
enlarge
shrink
circle-right
circle-left
file-text2
info
cart
Тип техники
Не выбрано
Легковые автомобили
Грузовые автомобили и прицепы
Автобусы
Сельхозтехника
Спецтехника
Двигатели
Мототехника
Марка
Не выбрано
Golden Dragon
Hyundai
Ikarus
Karosa
King Long
Neoplan
Yutong
ZF
АМАЗ
Богдан
ЗИЛ
КАВЗ
Камский автозавод
ЛАЗ
ЛЗГМП
ЛиАЗ
Нефтекамский автозавод
ПАЗ
УралАЗ
Модель
Не выбрано
C 734
Схема
>
Не выбрано
Застекление
Застекление
Профили стальные
Профили алюминиевые
Профили ПВХ, резиновые и наконечники
Ниши, надколесные колпаки, пылеуловители
Кожухи
Оборудование
Пол, ступени
Стеклоочистители
Капот и арматура
Передняя и задняя панель
Боковая часть правая, левая
Боковая часть правая, левая - облицовка
Двери отсеков
Двери мотоотсека
Крыша
Двери
Механизм дверей
Воздухораспределитель дверей
Механизм управления дверями
Сиденье водителя
Основание сиденья водителя
Пневматическое управление и амортизатор сиденья
Сиденья
Вентиляция
Отопление
Отопление
Панель управления
Коробка отопления
Тепловодное отопление
Тепловодное отопление EBERSPACHER D 30 W
Тепловодное отопление EBERSPACHER D 30 W
Тепловодное отопление EBERSPACHER D 30 W
Багажники
Знаки, надписи
Перегородка
Облицовка, бамперы
Кронштейн двигателя и коробки передач
Система распределения масла (под давлением) сервоуправления
Двигатель в комплекте - блок цилиндров
Крышки и уплотнения I
Крышки и уплотнения II
Головка цилиндров, термостат
Корректор избыточного давления
Коленчатый вал
Шатун и поршни
Маслонасос, всасывающий трубопровод маслонасоса
Распределительные шестерни, кулачковый вал, вал топливного насоса
Центробежный масляный фильтр RHO 2d "3929"
Обменник
Полнопроточный масляный фильтр
Регулирующий клапан
Регулятор
Двигательный тормоз
Зубчатый гидрогенератор
Система управления двигателем и сцеплением
Система распределения масла (под давлением) привода вентилятора
Система впуска (всасывания) двигателя
Система распределения топлива
Система подачи топлива
Топливный насос высокого давления - управление
Топливный насос высокого давления
Топливоподкачивающий насос
Форсунка для впрыскивания топлива
Выпускной и впускной трубопровод с турбонагнетателем
Выхлопной трубопровод
Водяной насос
Радиатор
Система охлаждения двигателя
Жалюзи
Сцепление
Сцепление
Усилитель сцепления
Крышка коробки передач верхняя оборудованная
Коробка передач в сборе
Картер коробки передач, картер сцепления, крышка заднего подшипника коробки передач
Шлицевой вал оборудованный
Промежуточный вал в сборе и промежуточная шестерня заднего хода
Ведущий вал коробки передач
Механизм переключения передач
Механизм переключения передач
Промежуточный вал
Задний мост (ось) DETVA
Задний мост (ось) DETVA-распределитель ROCKWEL
Рама шасси
Подрессоривание - задняя ось (мост)
Подрессоривание - передняя ось (мост)
Передний мост (ось) - подвеска
Подвеска заднего моста (оси)
Передний мост (ось) - ступица колеса
Задний мост (ось) DETVA - колесная единица
Кран подкачки шин
Тележка запасного колеса
Колеса - пневматические шины
Рулевое управление
Рулевое гидроуправление
Система управления - педали
Электромагнитный клапан
Главный цилиндр
Система распределения воздуха
Воздушный компрессор
Воздушный резервуар
Воздушный резервуар
Воздушный резервуар
Воздушный резервуар
Воздушный резервуар
Автоматический нагрузочный регулятор
Клапан управления
Автоматический нагрузочный регулятор
Клапан ручного тормоза
Воздушный компрессор
Двухмагистральный тормозной кран
Соединительная головка с заслонкой
Осушитель
Маслоотделитель
Многомагистральный предохранительный клапан
Редукционный клапан JIKOV
Клапан управления
Регулирующий клапан
Задний мост (ось) DETVA - колесная единица - тормозная часть
Система всасывания генератора переменного тока
Установка генератора переменного тока
Электрическое оборудование I
Электрическое оборудование II
Стартер - детали
Генератор переменного тока PAL 28 B/75 A
Электрическое оборудование - фары, лампы
Задний распределитель
Панель включателей
Электрическое оборудование - приборная доска
Приборная доска
1
5
6
9
9
9
10
11
12
13
14
15
16
17
18
19
20
21
22
23
23
24
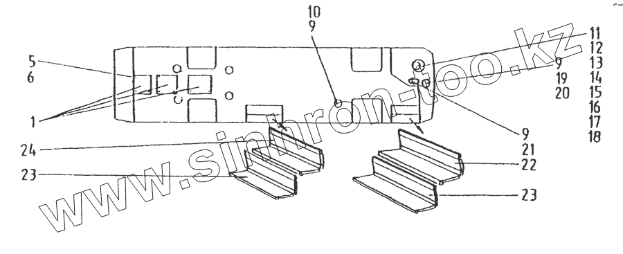
Позиция на иллюстрации
Заводской номер детали
Название детали
1
442 97208 159 1
Пол
5
442 90976 767 1
Шайба
6
309 201 180 000
Болт М8х40 СSN 02 1101.25
9
309 338 180 000
Болт 3,9х16 СSN 02 1238.05
10
442 97261 378 1
Крышка
11
273 124 035 120
Крышка 442 94858 298 1
12
442 94863 031 1
Вставка
13
153 251 343 405
Лента 9х680 СSN 02 2767
14
[Крепежный хомут 9 С SN 02 2751 5]
Крепежный хомут 9С SN 02 2751 5
15
309 332 180 000
Болт М4х16 СSN 02 1131 25
16
309 231 180 000
Болт М4х18 СSN 02 1131.25
17
[Шайба 4,3 СSN 02 1726.05]
Шайба 4,3 СSN 02 1726.05
18
311 120 118 000
Гайка М4 СSN 02 1401.25
19
442 05099 067 1
Кольцо
20
321 810 981 120
Сопло обдува стекол 95001
21
442 94858 550 1
Крышка
22
442 97886 113 1
Ступень
23
442 97886 114 1
Ступень
24
442 97886 168 1
Ступень
Содержащиеся в справочниках-каталогах запасные части и детали не предлагаются к продаже, а носят исключительно информационный характер
Дополнительная информация
×
Название:
Номер:
Примечание: