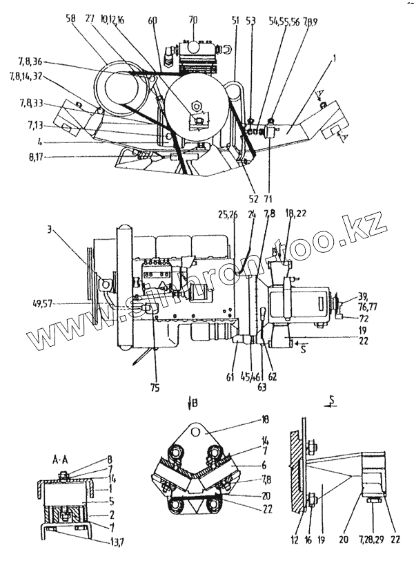
Каталог запасных частей к технике: Karosa C 734. Кронштейн двигателя и коробки передач
1
1
2
3
4
5
6
7
7
7
7
7
7
7
7
7
7
7
7
8
8
8
8
8
8
8
8
9
10
12
12
13
13
14
14
14
16
16
17
18
18
19
19
20
20
22
22
22
22
24
25
26
27
28
29
32
33
36
39
45
46
49
51
52
53
54
55
56
57
58
60
61
62
63
70
71
72
75
76
77
| Позиция на иллюстрации | Заводской номер детали | Название детали | |
|---|---|---|---|
| 442 17100 430 8 | 442 17100 430 8 | Коробка передач 5Р115.12 | |
| 442 17099 609/01 5 | 442 17099 609/01 5 | Двигатель МL 636 Р в к-те со сцеплением | |
| 1 | 442 07049 114 1 | Несущая балка двигателя | |
| 2 | 442 05119 157 1 | Подкладка | |
| 3 | [Кронштейн компрессора] | Кронштейн компрессора | |
| 4 | 442 05175 011 1 | Клин | |
| 5 | [Пружина 4845 СSN 63 5813] | Пружина 4845 СSN 63 5813 | |
| 6 | [Шайба 14,01] | Шайба 14,01 | |
| 7 | [Шайба 12 СSN 02 1740.05] | Шайба 12 СSN 02 1740.05 | |
| 8 | [Гайка М12 СSN 02 1401/55] | Гайка М12 СSN 02 1401/55 | |
| 9 | 442 05221 075 1 | Болт М12х150 | |
| 10 | 442 05221 076 1 | Болт М16х150 | |
| 12 | [Шайба 16 СSN 02.1740.05] | Шайба 16 СSN 02.1740.05 | |
| 13 | [Болт М12х35 СSN 02.1103.55] | Болт М12х35 СSN 02.1103.55 | |
| 14 | [Шайба 13 СSN 02 1702.15] | Шайба 13 СSN 02 1702.15 | |
| 16 | [Гайка М16 СSN 02 1401 55] | Гайка М16 СSN 02 1401 55 | |
| 17 | [Болт М12х55 СSN 02 1103.55] | Болт М12х55 СSN 02 1103.55 | |
| 18 | 442 07167 450 1 | Кронштейн коробки передач | |
| 19 | 442 07167 451 1 | Кронштейн коробки передач | |
| 20 | 442 03078 732 1 | Промежуточная деталь | |
| 22 | 442 05101 495 1 | Подкладка | |
| 24 | 442 05308 302 1 | Трубка | |
| 25 | [Редуктор С15-32 02353 St gаl Znс] | Редуктор С15-32 02353 St gаl Znс | |
| 26 | [Кольцо уплотнительное 18х244 СSN 02.9310.3] | Кольцо уплотнительное 18х244 СSN 02.9310.3 | |
| 27 | 442 07786 190 1 | Натяжной блок генератора переменного тока | |
| 28 | 442 05101 284 1 | Шайба 13 | |
| 29 | [Болт М12х35 СSN 02 1103.55] | Болт М12х35 СSN 02 1103.55 | |
| 32 | [Болт М12х120 СSN 02 1301.05] | Болт М12х120 СSN 02 1301.05 | |
| 33 | [Болт М12х55 СSN 02 1101.55] | Болт М12х55 СSN 02 1101.55 | |
| 36 | [Болт М12х90 СSN 02 1101.55] | Болт М12х90 СSN 02 1101.55 | |
| 39 | 23-403 562 | Коробка редукционная | |
| 45 | [Гайка М6 СSN 02.1401.25] | Гайка М6 СSN 02.1401.25 | |
| 46 | [Шайба 8 СSN 02 1/40.05] | Шайба 8 СSN 02 1/40.05 | |
| 49 | [Шланг 20/28 L=530 СSN 63 5387] | Шланг 20/28 L=530 СSN 63 5387 | |
| 51 | 442 05309 098 1 | Трубка | |
| 52 | 442 05309 097 1 | Трубка | |
| 53 | [Т-муфта Q6L gаl\Zn] | Т-муфта Q6L gаl/Zn | |
| 54 | 442 05308 407 1 | Трубка | |
| 55 | [Гайка накидная 6L-А] | Гайка накидная 6L-А | |
| 56 | [Кольцо уплотнительное 6L-S] | Кольцо уплотнительное 6L-S | |
| 57 | [Обойма d20+32] | Обойма d20+32 | |
| 58 | 443 113 518 811 | Генератор переменного тока РАL 26В\75А | |
| 60 | [Ремень клиновый АVХ13х1050 Lа (пара)] | Ремень клиновый АVХ13х1050 Lа (пара) | |
| 61 | 443 613 200 704 | Усилитель сцепления | |
| 62 | 442 22914 007 5 | Выключающий рычаг сцепления | |
| 63 | 442 35444 009 5 | Резиновая вставка | |
| 70 | 442 07481 018 1 | Воздушный компрессор | |
| 71 | 38 0057 25 002 | Датчик манометра ЕFА 10 | |
| 72 | [Передатчик импульсов тахографа] | Передатчик импульсов тахографа | |
| 75 | 442 0716/ 545 1 | Кронштейн | |
| 76 | 442 05449 019 1 | Лента стягивающая 200 | |
| 77 | 4Сv06970 16 | Коробка |
Содержащиеся в справочниках-каталогах запасные части и детали не предлагаются к продаже, а носят исключительно информационный характер