Каталог запасных частей к технике: Karosa C 734. Двигательный тормоз
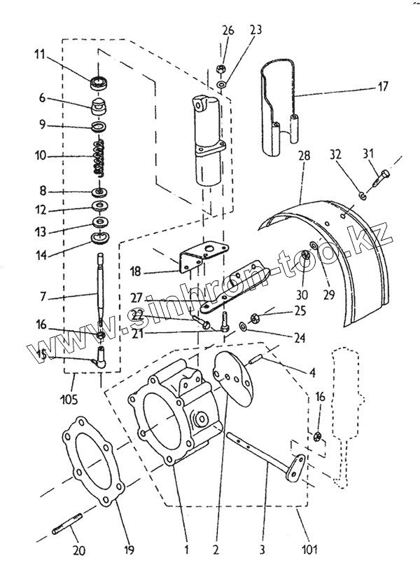
1
2
3
4
6
7
8
9
10
11
12
13
14
15
16
16
17
18
19
20
21
22
23
24
25
26
27
28
29
30
31
32
101
105
| Позиция на иллюстрации | Заводской номер детали | Название детали | |
|---|---|---|---|
| 1 | 442 12616 013 5 | Корпус двигательного тормоза | |
| 2 | 442 11210 001 5 | Заслонка двигательного тормоза | |
| 3 | 442 17113 009 5 | Вал заслонки в комплекте | |
| 4 | [Заклепка 5х26 СSN 02 2301.1] | Заклепка 5х26 СSN 02 2301.1 | |
| 6 | 442 11053 003 5 | Поршень | |
| 7 | 442 12851 025 5 | Шток поршня | |
| 8 | 442 15354 008 5 | Дно цилиндра | |
| 9 | 442 15081 003 5 | Буртик | |
| 10 | 442 15051 024 5 | Пружина | |
| 11 | 273 112 010 134 | Манжета U36х25 СSN 02 9260.3 | |
| 12 | 442 15401 035 5 | Уплотнение | |
| 13 | 442 15101 007 5 | Шайба | |
| 14 | 311 733 100 360 | Кольцо стопорное 36 СSN 02 2931 | |
| 15 | [Угловой шарнир 13 ОNА 30 1540.10] | Угловой шарнир 13 ОNА 30 1540.10 | |
| 16 | [Гайкам 8 СSN 02 1401.55] | Гайка М8 СSN 02 1401.55 | |
| 17 | 442 17558 043 5 | Кожух в комплекте | |
| 18 | 442 12897 038 5 | Кронштейн | |
| 19 | 442 15407 022 5 | Уплотнение двигательного тормоза | |
| 20 | 442 15221 095 5 | Болт М10х90 | |
| 21 | [Болт М8х80 СSN 02 1101 55] | Болт М8х80 СSN 02 1101 55 | |
| 22 | [Болт М8х20 СSN 02 1103.55] | Болт М8х20 СSN 02 1103.55 | |
| 23 | [Шайба 8,4 СSN 02 1702.15] | Шайба 8,4 СSN 02 1702.15 | |
| 24 | [Шайба 10,5 СSN 02 1702.15] | Шайба 10,5 СSN 02 1702.15 | |
| 25 | 442 15251 003 5 | Гайка М10 СSN 02 1402 29 | |
| 26 | [Гайка М8 СSN 02 1401.55] | Гайка М8 СSN 02 1401.55 | |
| 27 | 442 13289 008 5 | Кронштейн | |
| 28 | 442 12966 019 5 | Кожух | |
| 29 | [Шайба 8,4 СSN 02 1702.15] | Шайба 8,4 СSN 02 1702.15 | |
| 30 | [Гайка М8 СSN 02 1401.55] | Гайка М8 СSN 02 1401.55 | |
| 31 | [Болт М8х18 СSN 021103 55] | Болт М8х18 СSN 021103 55 | |
| 32 | [Шайба 8 СSN 02 174102] | Шайба 8 СSN 02 174102 | |
| 101 | 442 17530 037 5 | Корпус двигательного тормоза в комплекте | |
| 105 | 442 17486 015 5 | Пневматический цилиндр |
Содержащиеся в справочниках-каталогах запасные части и детали не предлагаются к продаже, а носят исключительно информационный характер