Вернуться на главную
Поиск
Каталоги запчастей к технике
Автобусы
Камский автозавод
Шасси 5297
5297-1311010-10 Бачок расширительный
Каталог запасных частей к технике: Камский автозавод Шасси 5297. 5297-1311010-10 Бачок расширительный
zoom-in
zoom-out
enlarge
shrink
circle-right
circle-left
file-text2
info
cart
Тип техники
Не выбрано
Легковые автомобили
Грузовые автомобили и прицепы
Автобусы
Сельхозтехника
Спецтехника
Двигатели
Мототехника
Марка
Не выбрано
Golden Dragon
Hyundai
Ikarus
Karosa
King Long
Neoplan
Yutong
ZF
АМАЗ
Богдан
ЗИЛ
КАВЗ
Камский автозавод
ЛАЗ
ЛЗГМП
ЛиАЗ
Нефтекамский автозавод
ПАЗ
УралАЗ
Модель
Не выбрано
3297-C4 (2019)
4308-А3 (2019)
5297 (2004)
Шасси 5297 (2010)
Шасси 52974 (2013)
Схема
>
Не выбрано
5297-0001076-31 Автобусное шасси КАМАЗ-5297 (EBPO-4). Комплектовочная ведомость
5297-1000264-60 Агрегат силовой, укомплектованный для установки на автобус
5297-1001000-62, 5297-1001000-65 Установка опор силового агрегата
5297-1015002 Установка патрубка и штуцера системы подогрева двигателя
820.53-1002001 Установка крышки блока передней
820.61-1000406 Двигатель с оборудованием
820.53-1002260-20 Крышка блока передняя
7406.1002003 7406.1002003-10 Установка картера агрегатов
7406.1002320 7406.1002320-10 Картер агрегатов
7406.1029115 Шестерня ведущая
7406.1029125 Ось ведущей шестерни
820.52-1002004 Установка картера маховика
7406.1002310, 7406.1002310-10, 820.52-1002310, 820.52-1002310-10 Картер маховика
820.52-1029120 Шестерня ведомая привода ТНВД
820.01-1002010 Блок цилиндров в сборе
740.21-1002011 Блок цилиндров
740.1002080 Заглушка водяной полости
740.1003035 Втулка с кольцами
820.52-1003000 Установка головок цилиндра и механизма газораспределения
820.52-1003005 Головка цилиндра
820.52-1003010 Головка цилиндра с клапанами и стойкой коромысел
820.52-1003014 Головка цилиндра со втулками
740.21-1006010 Распределительный вал
7406.1007091 Стойка коромысел
7406.1007140 Коромысло клапана
820.52-1004010-40, 820.52-1004010-30, 820.52-1004010-20, 820.52-1004010-10 Поршень с шатуном и кольцами
740.1004045 Шатун
7405.1004066 Клапан форсунки охлаждения поршня
7405.1004120 Установка форсунки охлаждения поршня
740.62-1005007, 740.62-1005007-10, 820.52-1005007, 820.70-1005007 Установка коленчатого вала
740.62-1005008, 740.62-1005008-10, 820.52-1005008, 820.70-1005008 Вал коленчатый
7406.1005031 Шестерня коленчатого вала
740.57-1005059 Установка гасителя крутильных колебаний и фланца отбора мощности
740.31-1005060-10 Установка шкива коленчатого вала
740.60-1005100-20 Установка маховика
740.50-1005115-10 Маховик
740.50-1005116 Маховик
820.53-1009001-10 Установка масляного картера, маслоналивного патрубка и указателя уровня
740.11-1009050-01 Указатель уровня в сборе
740.11-1011001, 740.21-1011001, 740.21-1011001, 740.21-1011001-10, 740.11-1011001-20, 740.21-1011001-20 Установка масляного насоса
740.11-1011005, 740.21-1011005, 740.11-1011005-10, 740.21-1011005-10, 740.11-1011005-20, 740.21-1011005-20 Насос масляный с маслозаборником
740.11-1011010, 740.21-1011010 Насос масляный с шестерней
740.11-1011014-02, 740.21-1011014-02 Насос масляный
740.11-1011016-01 Крышка с клапаном
740.1011018-50, 740.1011018-51 Корпус насоса
740.11-1011019-01 Крышка масляного насоса
7405.1012001, 7406.1012001, 740.11-1012001-20, 7406.1012001-30, 7405.1012001-10 Установка фильтра и теплообменника
740.11-1012006, 740.20-1012006 Фильтр маслянный с теплообменником
740.11-1013200-10, 740.20-1013200-10 Теплообменник маслянный
7405-1013210, 7406.1013210, 740.11-1013210, 740.20-1013210 Сердцевина
740.50-1014100, 740.50-1014100-10, 740.50-1014100-20 Установка системы вентиляции
5297-1001001-40 Установка силового агрегата
5320-1001062-10 Башмак задней опоры силового агрегата
5297-1108002, 5297-1108002-20 Установка педали электронного управления подачей топлива
5297-1109001-40 Установка воздушного фильтра
7405.1109510, 7405.1109510-01, 7405.1109510-02, 7405.1109510-03 Фильтр воздушный
7405.1109557 Элемент фильтрующий с предочистителем
740.30-1111045 Корпус заднего подшипника
820.61-1115000 Установка системы впуска
820.53-1115012 Коллектор впускной правый
820.53-1115014 Коллектор впускной правый
820.61-1118001 Установка турбокомпрессоров на двигатель
820.53-1148000-10 Установка узла заслонки
5297-1170000-20 Установка системы охлаждения наддувочного воздуха
5297-1200005-24 Установка системы выпуска
5297-1301005-72 Радиатор с вентилятором
5297-1303003-65 Установка водяных труб
820.61-1303005 Установка корпуса водяных каналов
820.61-1303010 Корпус водяных канало
5297-1303400-65 Установка труб теплообменника ГМП
740.11-1307005 Установка водяного насоса
740.11 -1307010-01 Водяной насос
5297-1308002-62 Установка натяжной опоры и ремней привода вентилятора
5297-1308005-72 Установка вентилятора
5297-1308030-01 Опора вентилятора с электромагнитной муфтой
5297-1318500-01 Шкив с фрикционным диском
5297-1318510-01 Шкив с подшипником
5297-1318520-01 Ступица с фрикционным диском
5297-1308110-62 Опора натяжная с кронштейном
5297-1311005-60 Установка бачка расширительного
5297-1311010-10 Бачок расширительный
5297-1700010-20 Установка гидромеханической передачи
5297-2200001-15, 5297-2200001-16 Установка карданного вала
43114-2205011 Вал карданный среднего моста
53205-2205017-10 Вал карданный с шарниром
53205-2205020 Шарнир приварной
53205-2205050 Вилка скользящая с шарниром
53205-2205026-10 Крестовина карданного вала
5297-2400718-87, 5297-2400718-88, 5297-2400718-89 Мост задний
5297-2411012, 5297-2411012-12 Привод блокировки межколесного дифференциала
5297-2815010-17 Установка защитного экрана
5297-2900001-90, 5297-2900001-91 Установка передней подвески
5297-2900002 Установка задней подвески
5297-2900018-97 Установка регуляторов положения кузова и монтаж трубопроводов
5297-2919016 Штанга задней подвески
5297-3101002 Установка передних стальных колес
5297-3101003-40 Установка сдвоенных стальных колес на мост cp."RABA"
5297-3101011 Колесо 8,25x22,5 стальное с шиной
5297-3400012-90, 5297-3400012-91 Установка рулевого управления
5297-3400014-30 Установка колонки рулевого управления
5297-3400018-01 Установка трубопроводов
740.31-3407002 Установка насоса рулевого усилителя
5297-3414010-90 Тяга сошки с наконечниками
5297-3422010-30 Вал карданный рулевого управления
5297-3422020-90 Вал карданный рулевого управления
6520-3444008-19 Колонка рулевого управления
6520-3444010-19 Колонка рулевого управления
5297-3500006-93 Установка пневмопривода тормозов
5297-3500011-76 Установка блока подготовки воздуха
5297-3500013-93 Ресиверы с соединительной арматурой
5297-3500014-16 Установка двухсекционного тормозного крана
5297-3500033-90 Регулятор тормозных сил с соединительной арматурой
5297-3500037-91, 5297-3500037-92, 5297-3500037-95, 5297-3500037-80 Установка кабелей АБС
5297-3506180-76 Установка охладителя
740.31-3509004, 740.31-3509004-01 Установка компрессора
53205-3509015 Компрессор
53205-3509018 Картер компрессора
53205-3509039 Головка цилиндра с крышкой
53205-3509088 Крышка задняя в сборе
53205-3509154 Поршень в сборе
16-3513110 Кран слива конденсата
5297-3514108-16 Кран тормозной двухсекционный с педалью
5297-3515005 Клапан четырехконтурный с соединительной арматурой
100-3515010 Клапан защитный одинарный
16-3515310 Клапан контрольного вывода
53205-3515400-10, 53215-3515400-10 Клапан защитный четырехконтурный
16-3515510 Кран экстренного растормаживания
5297-3518005 Ускорительный клапан с соединительной арматурой
5297-3519002-10 Установка тормозных камер и регулировочных рычагов на заднем мосту
5297-3542005-91, 5297-3542005-92, 5297-3542005-95 Модулятор с соединительной арматурой
6460-3570014-10 Корпус вспомогательного тормоза с заслонкой
53205-3570205 Пневмоцилиндр вспомогательного тормоза
53205-3570210 Цилиндр пневматический ф35х65
5297-3700001-11, 5297-3700001-12, 5297-3700001-13, 5297-3700001-14, 5297-3700001-15, 5297-3700001-18 Электрооборудование. Расположение на шасси автобуса
820.52-3700005-10 Установка системы зажигания
740.30-3701002 Установка генератора
5297-3703001-30 Установка аккумуляторных батарей
740.50-3708005, 740.50-3708005-10 Установка стартера
5297-3722001 -93, 5297-3722001-92, 5297-3722001-94, 5297-3722001-97, 5297-3722001-01, 5297-3722001-03 Установка предохранителей и реле
5297-3723003-30, 5297-3723703-30 Установка розетки прицепа
820.61-3724010 Установка жгута проводов
820.53-3724020 Установка термопар
5297-3737001-50, 5297-3737701-50 Установка выключателя массы
5297-3761001-85 Установка устройства защиты бортовой сети
5297-3805001 -11, 5297-3805001-13, 5297-3805001-15, 5297-3805001-16, 5297-3805001-18 Установка щитка приборов на рулевой колонке
5297-3805002-11, 5297-3805002-13, 5297-3805002-15, 5297-3805002-16, 5297-3805002-18 Установка электрооборудования в щитке приборов
5297-3805010-76, 5297-3805010-77 Щиток приборов
5297-3803001 Установка ламп контрольных и выключателей
4308-3830005 Установка датчиков указателя давления воздуха
5297-3830002 Установка датчиков аварийного давления воздуха
5297-4000100-82 Система управления газовым двигателем. Расположение на панели приборов
5297-4000110 Система управления коробкой передач. Расположение на панели приборов
5297-4000120 Система управления АБС. Расположение на панели приборов
5297-4012001 Установка индикации на панели приборов
5297-4014001 Установка переключателей на панели приборов
5297-4070004-82 Установка жгута проводов системы управления газовым двигателем в панели приборов
5297-4070014 Установка жгута проводов системы управления коробкой передач Voith в панели приборов
5297-4070024 Установка жгутов проводов АБС в панели приборов
5297-4000300-82 Система управления газовым двигателем. Расположение на шасси
5297-4070059 Установка жгута питания на шасси
5297-4011005 Установка кронштейна реле и блоков предохранителей
5297-4018002 Установка блока предохранителей БПР-2М
5297-4018013 Установка блока предохранителей БПР-13
5297-4017012, 5297-4017012-03, 5297-4017012-04, 5297-4017012-05, 5297-4017012-06 Установка реле
5297-4000310 Система управления коробкой передач Voith. Расположение на шасси
5297-4070013 Установка жгутов проводов системы управления коробки Voith на шасси
5297-4001005-82 Установка блока управления коробкой передач
5297-4001006 Установка пятиклавишного переключателя
5297-4000320-11 АБС. Расположение на шасси
5297-4070023 Установка жгутов проводов АБС на шасси
5297-4011015-10 Установка блока управления АБС
820.53-4400005 Установка газового оборудования
820.53-4411010-01 Фильтр очистки газа
820.53-4415230 Установка газового коллектора правого
820.53-4415231 Установка газового коллектора левого
5297-8106505-17 Установка подогревателя газового NGW 300
5297-8106510-17 Установка газового оборудования подогревателя NGW300
Защита газовых баллонов
Баллон газовый
Трубка
Редуктор высокого давления
Манометр
Вентиль магистральный
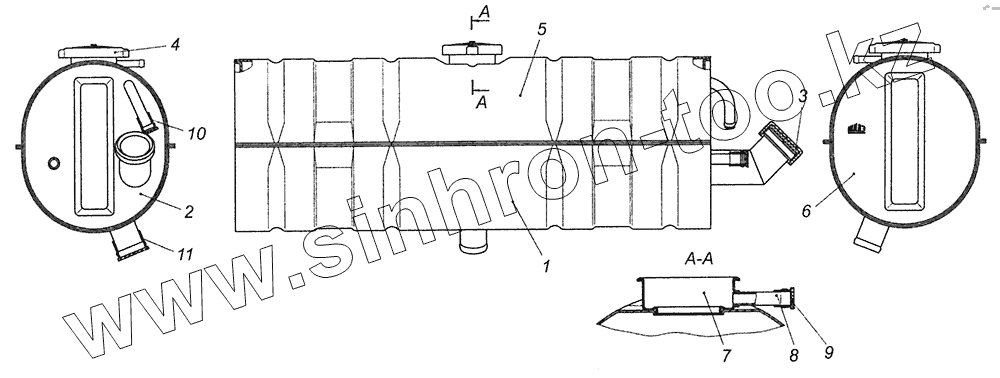
1
2
3
4
5
6
7
8
9
10
11
Позиция на иллюстрации
Заводской номер детали
Название детали
1
5297-1311030
Корпус нижний с патрубком
2
5297-1311060-10
Крышка правая с трубками
3
5297-1311100
Крышка наливной трубы
4
5320-1304010-01
Пробка радиатора
5
5297-1311020
Корпус верхний
6
5297-1311055-10
Крышка левая
7
5320-1311018-01
Горловина наливная расширительного бачка
8
Р4408-8101085
Трубка пароотводящая
9
850885
Заглушка
10
850960
Пробка транспортная
11
850963
Пробка транспортная
Содержащиеся в справочниках-каталогах запасные части и детали не предлагаются к продаже, а носят исключительно информационный характер
Дополнительная информация
×
Название:
Номер:
Примечание: