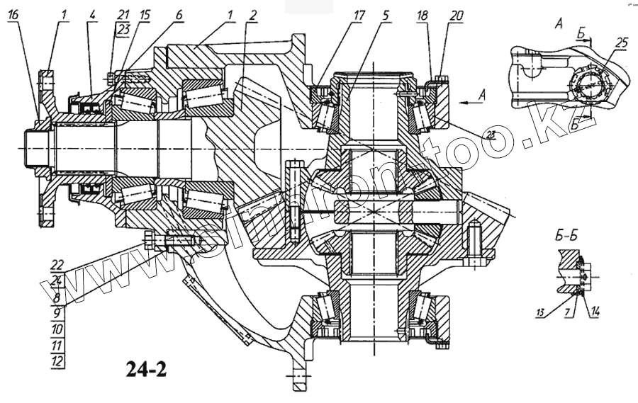
Каталог запасных частей к технике: Камский автозавод 5297. Передача главная заднего моста
1
2
3
4
5
6
7
8
9
10
11
12
13
14
15
16
17
18
20
21
22
23
23
24
25
| Позиция на иллюстрации | Заводской номер детали | Название детали | |
|---|---|---|---|
| 5297-2402011 | 5297-2402011 | Передача главная заднего моста | |
| 1 | 6520-2402015 | Картер редуктора заднего моста | |
| 2 | 5262-2402021 | Шестерня ведущая коническая | |
| 3 | 6520-2502036 | Фланец ведущий среднего моста | |
| 4 | 6520-2402050 | Крышка подшипника в сборе | |
| 5 | 5297-2403011 | Дифференциал заднего моста | |
| 6 | 6520-2402047 | Прокладка крышки | |
| 7 | 53205-2402078 | Шайба | |
| 8 | 6520-2402096 | Прокладка регулировочная | |
| 9 | 6520-2402097 | Прокладка регулировочная | |
| 10 | 6520-2402098 | Прокладка регулировочная | |
| 11 | 6520-2402099 | Прокладка регулировочная | |
| 12 | 6520-2402100 | Прокладка регулировочная | |
| 13 | 53205-2402131 | Шайба стопорная | |
| 14 | 53205-2402132 | Шайба замковая | |
| 15 | 6520-2402175 | Шайба подшипника | |
| 16 | 6520-2402269 | Гайка подшипника | |
| 17 | 53205-2403040 | Гайка подшипника | |
| 18 | 6520-2403043 | Стопор гайки подшипника | |
| 19 | 6-7516А1 | Подшипник роликовый конический однорядный ГОСТ 520-89 | |
| 20 | 1/42376/21 | Болт М8-6gх12 | |
| 21 | 1/60438/21 | Болт М8-6gх30 | |
| 22 | 1/55407/21 | Болт М12х1,25-6gх45 | |
| 23 | 1/05166/77 | Шайба 8 пружинная | |
| 24 | 1/05170/77 | Шайба 12 пружинная | |
| 25 | 1/07348/01 | Шплинт 2,7х40 |
Содержащиеся в справочниках-каталогах запасные части и детали не предлагаются к продаже, а носят исключительно информационный характер