Вернуться на главную
Поиск
Каталоги запчастей к технике
Автобусы
Камский автозавод
5297
Газораспределительный механизм
Каталог запасных частей к технике: Камский автозавод 5297. Газораспределительный механизм
zoom-in
zoom-out
enlarge
shrink
circle-right
circle-left
file-text2
info
cart
Тип техники
Не выбрано
Легковые автомобили
Грузовые автомобили и прицепы
Автобусы
Сельхозтехника
Спецтехника
Двигатели
Мототехника
Марка
Не выбрано
Golden Dragon
Hyundai
Ikarus
Karosa
King Long
Neoplan
Yutong
ZF
АМАЗ
Богдан
ЗИЛ
КАВЗ
Камский автозавод
ЛАЗ
ЛЗГМП
ЛиАЗ
Нефтекамский автозавод
ПАЗ
УралАЗ
Модель
Не выбрано
3297-C4 (2019)
4308-А3 (2019)
5297 (2004)
Шасси 5297 (2010)
Шасси 52974 (2013)
Схема
>
Не выбрано
Каркас основания шасси в сборе
Установка подогревателя 141.8106
Установка топливного фильтра и трубопроводов подогревателя
Двигатель
Агрегат силовой
Установка силового агрегата
Установка картера маховика
Блок цилиндров в сборе
Газораспределительный механизм
Головка цилиндров
Поршень с шатуном и кольцами в сборе
Вал коленчатый
Вал коленчатый в сборе
Маховик
Вал распределительный
Толкатели газораспределительного механизма
Установка газопровода
Вентиляция картера двигателя
Привод агрегатов
Установка турбокмпрессоров на двигатель
Установка воздушного фильтра
Фильтр воздушный в сборе
Установка картера, маслоналивного патрубка
Насос масляный
Фильтр с теплообменником
Фильтр очистки масла
Установка системы впуска
Установка и привод ТНВД
Установка топливного бака, ФГОТ и топливопроводов
Фильтр грубой очистки топлива
Фильтр тонкой очистки топлива
Установка топливопроводов
Система питания двигателя
Топливный насос низкого давления
Установка пневмоцилиндра и тяг управления ТНВД
Управление подачей топлива
Регулятор частоты вращения
Крышка регулятора верхняя
Державка грузов. Рычаги с корректорами
Топливный насос высокого давления
Корпус ТНВД в сборе
Корпус ТНВД в сборе
Секция ТНВД
Форсунка
Муфта опережения впрыскивания топлива
Насос предпусковой прокачки топлива
Установка ЭФУ
Система выпуска газов
Система охлаждения двигателя
Ролики направляющий
Насос водяной
Опора вентилятора с муфтой
Опора натяжная с кронштейном
Сцепление
Установка педали и привода выключения сцепления
Усилитель привода управления сцепления
Коробка передач с картером сцепления в сборе
Катер коробки передач с валами
Валы и шестерни коробки передач
Механизм переключения передач в сборе
Привод управления механизмом переключения передач
Вал карданный заднего моста
Задний мост с колесами и шинами в сборе
Передача главная заднего моста
Механизм блокировки МКД заднего моста
Вилка блокировки
Подвеска передняя в сборе
Подвеска задняя в сборе
Установка регуляторов положения кузова
Ось передняя
Держатель запасного колеса
Установка колонки рулевого управления
Установка рулевого управления
Рулевой механизм формы RBL
Насос рулевого механизма фирмы RBL
Бачок насоса рулевого механизма фирмы RBL
Рулевой механизм формы РРТ
Насос рулевого механизма фирмы РРТ
Бачок насоса рулевого механизма фирмы РРТ
Тяга сошки с наконечником
Вал карданный рулевого управления
Колонка рулевого управления
Установка пневмотормозов
Установка кабелей АБС
Тормоз передний
Тормоз задний
Компрессор пневмотормозов
Установка компрессора
Установка воздушных ресиверов
Кран тормозной двухсекционный
Клапан защитный одинарный в сборе
Клапан контрольного ввода в сборе
Осушитель с регулятором давления
Регулировочный рычаг
Камера тормозная с пружинным энергоаккумулятором
Регулятор тормозных сил
Кран тормозной обратного действия
Модулятор
Клапан защитный четырех контурный
Клапан ускорительный в сборе
Камера тормозная в сборе
Цилиндр выключения подачи топлива пневматический
Цилиндр вспомогательного тормоза пневматический
Модулятор с соединительной арматурой
Генератор
Стартер
Установка предохранителей и реле
Установка пучков проводов
Выключатель сигнала торможения
Комбинированный переключатель
Щиток приборов
Выключатель сигнализатора падения давления
Выключатель и спидометр
Привод спидометра
Комплекты для запчастей
Комплекты для запчастей
Комплекты для запчастей
Комплекты для запчастей
Комплекты для запчастей
Вал коленчатый с маховиком (комплект для запчастей)
1
2
3
4
5
6
7
8
9
10
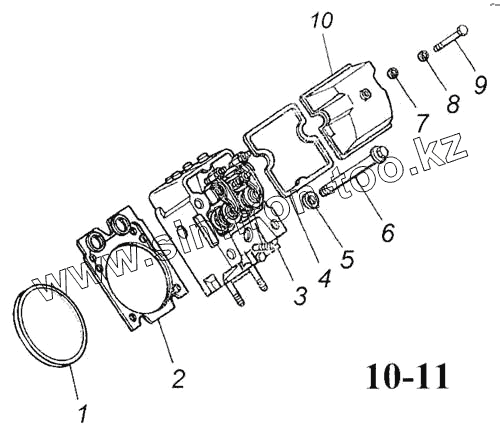
Позиция на иллюстрации
Заводской номер детали
Название детали
1
740.1003460-01
Прокладка-заполнитель
2
740.1003213-21
Прокладка уплотнительная головки цилиндра
3
7406.1003010
Головка цилиндра с клапанами в сборе
4
7406.1003270
Прокладка крышки
5
870648
Шайба 16
6
740.1003016-04
Болт крепления головки цилиндра
7
7406.1003262
Шайба виброизоляционная
8
7406.1003268
Шайба плоская
9
7406.1003266
Болт М8-6gх100
10
7406.1003264
Крышка головки цилиндра
Содержащиеся в справочниках-каталогах запасные части и детали не предлагаются к продаже, а носят исключительно информационный характер
Дополнительная информация
×
Название:
Номер:
Примечание: