Вернуться на главную
Поиск
Каталоги запчастей к технике
Автобусы
Камский автозавод
4308-А3
4308-1700010-10 Установка гидромеханической передачи
Каталог запасных частей к технике: Камский автозавод 4308-А3. 4308-1700010-10 Установка гидромеханической передачи
zoom-in
zoom-out
enlarge
shrink
circle-right
circle-left
file-text2
info
cart
Тип техники
Не выбрано
Легковые автомобили
Грузовые автомобили и прицепы
Автобусы
Сельхозтехника
Спецтехника
Двигатели
Мототехника
Марка
Не выбрано
Golden Dragon
Hyundai
Ikarus
Karosa
King Long
Neoplan
Yutong
ZF
АМАЗ
Богдан
ЗИЛ
КАВЗ
Камский автозавод
ЛАЗ
ЛЗГМП
ЛиАЗ
Нефтекамский автозавод
ПАЗ
УралАЗ
Модель
Не выбрано
3297-C4 (2019)
4308-А3 (2019)
5297 (2004)
Шасси 5297 (2010)
Шасси 52974 (2013)
Схема
>
Не выбрано
4308-1000256-10 Агрегат силовой, укомплектованный для установки на автобус
4308-1001000-33 Установка кронштейнов силового агрегата
4308-1001005-33 Установка силового агрегата
4308-1001205 Установка поддерживающей опоры силового агрегата
4308-1005060 Установка шкива привода кондиционера
4308-1100030-96 Установка топливного бака,фильтра грубой очистки топлива и топливопроводов.
4308-1109001-90 Установка воздушного фильтра
53215-1103001-20 Установка крышки топливного бака
4308-1200010 Установка системы выпуска
4308-1300023-90 Установка блока охлаждения
4308-1303400 Установка водяных труб
4308-1308005-80 Установка вентилятора с вязкостной муфтой
4308-1311005-80 Установка бачка расширительного
4308-1700010-10 Установка гидромеханической передачи
4308-2200001-91 Установка карданных валов
4308-2201006-91 Вал карданный трехшарнирный
4308-2201011-90 Вал карданный заднего моста
4308-2201017-90 Вал карданный с шарниром
4308-2202011-91 Вал карданный промежуточный с опорой
4308-2202017-91 Вал карданный с шарниром
53205-2201020 Шарнир приварной
53205-2201026-10 Крестовина карданного вала
53205-2201050 Вилка скользящая с шарниром
53205-2201050 Вилка скользящая с шарниром
43081-2400215-20 Мост задний
43081-2402009-20 Передача главная заднего моста
43081-2402015 Картер редуктора заднего моста
43081-2402021-20 Шестерня ведущая заднего моста
43081-2402048 Стакан подшипников
43081-2402050 Крышка подшипника
43081-2402074 Крышка подшипника левая
43081-2402074 Крышка подшипника левая
43081-2402076 Крышка подшипника правая
43081-2402076 Крышка подшипника правая
4308-2800010-67 Рама
5410-2806040 Проушина буксирная
4308-2900002-20 Установка задней подвески
4308-2900005-20 Установка кронштейнов подвески на раму
4308-2902012-15 Рессора передняя
4308-2919068-20 Ручаг верхний с реактивными штангами
4308-2935001-90 Регулятор положения уровня пола с соединительной арматурой
4308-3000012 Ось передняя с тормозами
4308-3000015 Ось передняя
4308-3001012 Кулак поворотный
4308-3101702 Установка передних колес
4308-3101703 Установка сдвоенных колес
4308-3101711 Колесо 6,75х19,5 с шиной
4308-3103009 Ступица колеса с диском тормоза
4308-3103010 Ступица колеса
4308-3104009-42 Ступица заднего колеса с диском тормоза
4308-3104010-42 Ступица заднего колеса с диском тормоза
4308-3400002-19 Установка рулевого колеса
4308-3400004-78 Установка колонки рулевого управления
4308-3400018-49 Установка трубопроводов рулевого управления
4308-3400018-49 Установка трубопроводов рулевого управления
4308-3401001-71 Механизм рулевой с сошкой
4308-3401001-71 Механизм рулевой с сошкой
5297-3414052 Тяга рулевой трапеции
5308-3400012-10 Установка рулевого механизма
5308-3400019-10 Установка бачка и насоса ГУР
5308-3400019-10 Установка бачка и насоса ГУР
5308-3414010-11 Тяга сошки с наконечниками
5308-3414010-11 Тяга сошки с наконечниками
53205-3422012 Шарнир карданный
53205-3422122 Уплотнитель с втулкой
6520-3400005-19 Установка крышки защитной
6520-3414055 Наконечник тяги
6520-3414055 Наконечник тяги
6520-3414055 Наконечник тяги
6520-3414055 Наконечник тяги
6520-3414059 Наконечник тяги
6520-3414059 Наконечник тяги
6520-3414059 Наконечник тяги
6520-3444008-19 Колонка рулевого управления
6520-3444010-19 Колонка рулевого управления
4308-3500080-90 Установка пневмопривода в кабине
4308-3500080-90 Установка пневмопривода в кабине
4308-3501010 Тормоз передний
4308-3502010 Тормоз задний правый
4308-3502011 Тормоз задний левый
4308-3514001-90 Тормозной кран в сборе с соединительной арматурой
4308-3514001-90 Тормозной кран в сборе с соединительной арматурой
5297-3514108-16 Кран тормозной двухсекционный с педалью
5297-3514110-16 Кран тормозной двухсекционный. Условная сборочная единица
5308-3506001-04 Установка пневмопривода тормозов передней оси
5308-3509000-01 Установка подвода воздуха
5308-3511013 Ресивер в сборе с фитингами
5308-3531010-04 Блок клапана накачки шин
5308-3542005-04 Блок передних модуляторов АБС
53205-3541109-01 Датчик скорости со втулкой
53205-3541109-02 Датчик скорости со втулкой
53205-3541109-03 Датчик скорости со втулкой
5490-3534030-02 Кран регулировки рулевой колонки в сборе с соединительной арматурой
4308-3722701-34 Установка предохранителей
5297-3720001-51 Установка выключателя пневматического сигналов торможения
5308-3710004 Установка выключателя аккумуляторной батареи
5308-3710004 Установка выключателя аккумуляторной батареи
5308-3710004 Установка выключателя аккумуляторной батареи
532007-3737001-01 Установка малогабаритного выключателя массы
53205-3714003 Установка плафона освещения вещевого ящика
6520-3718001 Установка блока управления корректором фар
4308-3830002 Установка датчиков аварийного давления воздуха
4308-3830002 Установка датчиков аварийного давления воздуха
4308-3830005 Установка датчиков указателей давления воздуха
4308-3830005 Установка датчиков указателей давления воздуха
5308-3802001 Пломбировка спидометра
5308-3805001-10 Установка щитка приборов
5308-3805010-10 Щиток приборов
6520-3840002-50 Пломбировка датчика скорости
4308-4011048 Установка кронштейна для диагностического разъема
4308-4012004-10 Установка выключателя диагностики
4308-4012004-10 Установка выключателя диагностики
4308-4015001 Установка блока управления коробкой передач
4308-4016010 Установка кнопочного переключателя передач
4308-4070006-13 Установка жгута датчика воды в топливе
4308-4070007 Установка жгута ЭМК вспомогательного тормоза
4308-4070007 Установка жгута ЭМК вспомогательного тормоза
4308-4070024 Установка жгутов проводов АБС в панели приборов
4308-4070025-10 Установка жгутов проводов АБС в кабине
5460-4070044-70 Установка жгутов проводов шины данных щитка приборов в панели приборов
5460-4070046 Установка терминатора
65115-4012001 Установка предохранителей
65115-4070004-23 Установка проводов на кабине
6520-4011005 Установка батареи резервного питания
6520-4011033 Установка переключателей на панели приборной
6520-4011040 Установка выключателя моторного тормоза
6520-4011040 Установка выключателя моторного тормоза
6520-4012002 Установка реле
4308-5001055 Установка рабочего места
4308-8102005 Установка системы отопления на панели приборов
4308-8109020 Привод управления отоплением
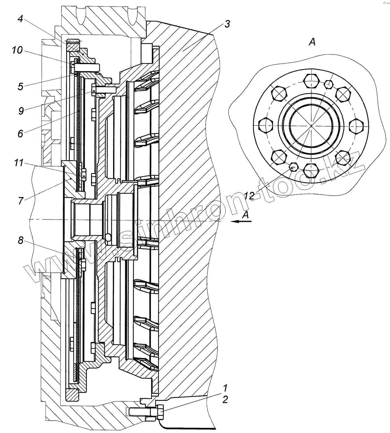
1
2
3
4
5
6
7
8
9
10
11
12
Позиция на иллюстрации
Заводской номер детали
Название детали
1
1/59709/31
Болт М10х1,25-6gх35
2
1/05168/73
Шайба 10 пружинная
3
Т270R
Гидромеханическая передача серии (45104170024590)
4
29537969
Адаптер ф. «ALLISON» (45104170025590)
5
29512126
Мембрана (45104170025690)
6
29512127
Мембрана (45104170025790)
7
29537971
Адаптер (45104170025890)
8
29512128
Шайба пластин (45104170026090)
9
11505232
Болт (45104170013990)
10
11515393
Болт крепления пластин (45104170025990)
11
3931446
Болт (45104170026290)
12
295137244
Болт (5104170026190)
Содержащиеся в справочниках-каталогах запасные части и детали не предлагаются к продаже, а носят исключительно информационный характер
Дополнительная информация
×
Название:
Номер:
Примечание: