Каталог запасных частей к технике: Ikarus 260.50. Устройство подачи топлива и его привод
2
3
5
6
8
9
10
11
12
13
13
13
13
13
13
13
14
14
14
14
14
14
14
14
15
15
16
16
17
17
18
18
19
19
21
21
29
29
29
29
53
54
56
57
57
58
59
59
59
60
60
60
60
61
61
61
61
62
62
62
62
63
64
65
66
67
68
69
70
71
72
72
73
74
75
76
77
78
79
80
81
82
82
82
82
83
84
84
87
88
89
113
114
115
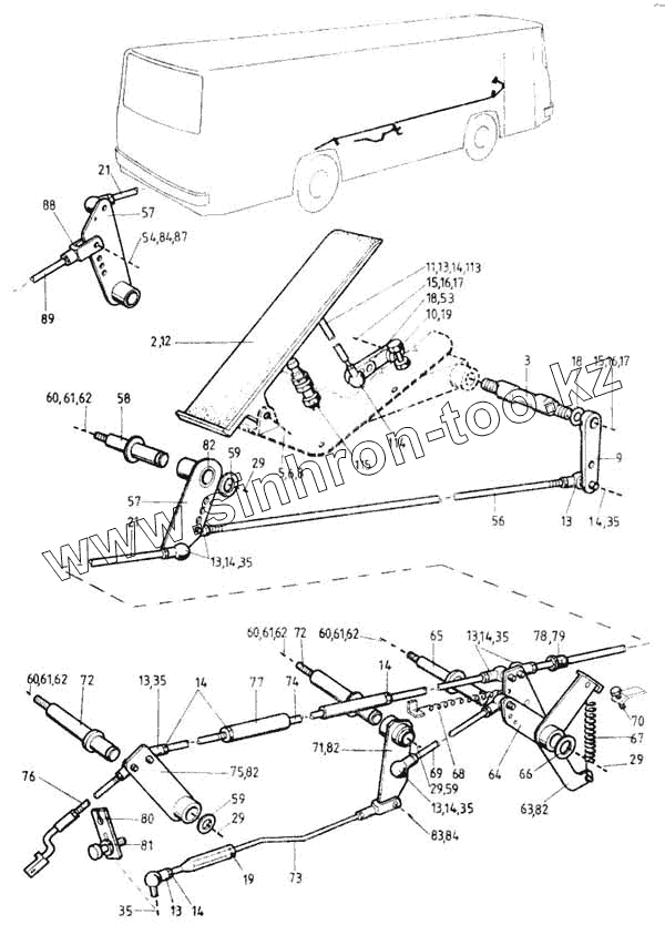
| Позиция на иллюстрации | Заводской номер детали | Название детали | |
|---|---|---|---|
| 1 | 250.03-1512-000 | Рычажной механизм для регулирования акселератора, в сборе | |
| 2 | 066.1-1510-003 | Педаль акселератора | |
| 3 | 250.02-1512-001 | Вал | |
| 4 | 250.03-1512-010 | Устройство для установки коромысла, в частичном сборе | |
| 5 | МSZ 2227 | Ось с отверстиями под штифт 8х75х67 | |
| 6 | МSZ 2233 | Шайба для осей 8 | |
| 7 | 260.02-1510-002 | Рычаг преобразованный | |
| 8 | МSZ КGSТ 220 | Шплинт 2х16 | |
| 9 | 250.03-1512-002 | Рычаг | |
| 10 | 250.03-1512-004 | Регулировочный винт | |
| 11 | 250.05-1512-003 | Тяга акселератора | |
| 12 | 910.01-1512-900 | Покрывающая педаль резина | |
| 13 | КGSZ 50.6022/1 | Шаровой шарнир АВ 10 | |
| 14 | МSZ 2260 | Гайка шестигранная М6 | |
| 15 | МSZ КGSТ 280 | Шайба М3 | |
| 16 | МSZ 2294-8 | Шайба М8х1 | |
| 17 | МSZ КGSТ 220 | Шплинт 2х16 | |
| 18 | 250.03-1512-012 | Прокладка | |
| 19 | МSZ 2260-6 | Гайка шестигранная М3 | |
| 20 | 260.04-1510-000 | Рычажная система для привода акселератора, в сборе | |
| 21 | КGSТ 50.6020 | Тяга | |
| 22 | 260.02-1510-010 | Вспомогательный рычаг, в частичной сборе | |
| 23 | 260.02-1510-020 | Вспомогательный рычаг, в частичной сборе | |
| 24 | 260.02-1510-018 | Тяга акселератора, полный | |
| 25 | 260.02-1510-023 | Втулка | |
| 26 | 260.02-1510-016 | Вал | |
| 27 | МSZ 12223 | Шайба М14х1,5 | |
| 28 | МSZ КGSТ 280 | Шайба М3 | |
| 29 | МSZ 232 | Кольцо стопорное наружное 14 | |
| 30 | 180.01-1512-043 | Прокладка | |
| 31 | 260.02-1510-022 | Рычаг | |
| 32 | 260.01-1510-013 | Прокладка | |
| 33 | 260.02-1510-017 | Вал | |
| 34 | МSZ 2463-8.8 | Болт с шестигранной головкой М10х12 | |
| 36 | МSZ 2463 | Болт М6х15 | |
| 37 | МSZ 2260 | Гайка шестигранная М6 | |
| 38 | МSZ КGSТ 2665 | Шайба пружинная 6К-2 | |
| 39 | 260.00-1510-007 | Направляющая скоба | |
| 40 | 250.01-1510-002 | Стопорное кольцо | |
| 41 | SYN 01 | Вилка 8х32 | |
| 41 | МSZ-0550. 6019 | Вилка М8-32 | |
| 42 | 260.02-1510-001А | Тяга с резьбой | |
| 43 | 260.02-1510-0010 | Тяга с резьбой | |
| 44 | 260.02-1510-003 | Тяга акселератора I., полная | |
| 45 | 180.03-1510-026 | Оттяжная пружина | |
| 46 | МSZ КGSТ 2665 | Шайба пружинная 6К-2 | |
| 47 | МSZ 05 50.6022 | Шаровой шарнир А13 | |
| 47 | КGSZ-50.6022/1 | Шаровой шарнир АВ13 | |
| 48 | SYN 01 | Вилка 8х32 | |
| 48 | МSZ-05 50.6019 | Вилка М6х24 | |
| 49 | МSZ 2463-6.8 | Болт с шестигранной головкой М6х20А | |
| 50 | МSZ КGSТ 2665 | Шайба пружинная 6К-2 | |
| 51 | 5-0971.10 | Датчик нагрузки | |
| 52 | 260.04-1510-001 | Вал | |
| 53 | 250.03-1512-001 | Рычаг преобразованный | |
| 54 | МSZ 2233 | Шайба для осей 8 | |
| 55 | 250.03-1512-002 | Рычаг | |
| 56 | КGSZ 50.6020 | Тяга 6х500 | |
| 57 | 260.00-1510-010 | Вспомогательный рычаг, в частичном сборе | |
| 58 | 250.03-1510-001 | Вал | |
| 59 | 180.01-1512-043 | Прокладка | |
| 60 | МSZ КGSТ 280 | Шайба М3 | |
| 61 | МSZ 2253 | Гайка шестигранная М10 | |
| 62 | МSZ КGSТ 220 | Шплинт 2х16 | |
| 63 | 280.00-1510-010 | Сборка кронштейна коромысла | |
| 64 | 280.00-1510-020 | Сборка кронштейна коромысла | |
| 65 | 280.00-1510-027 | Вал | |
| 66 | 280.00-1510-028 | Прокладка | |
| 67 | 280.00-1510-029 | Оттяжная пружина | |
| 68 | 280.00-1510-031 | Оттяжная пружина | |
| 69 | КGSZ 50.620 | Тяга 6х270 | |
| 70 | 260.00-1510-099 | Болт регулировачный | |
| 71 | 230.00-1510-040 | Коромысло управления подачей топлива, в сборе | |
| 72 | 280.00-1510-043 | Вал | |
| 73 | 280.00-1510-110 | Тяга акселератора | |
| 74 | 280.00-1510-060 | Тяга | |
| 75 | 280.00-1510-060 | Тяга | |
| 76 | 280.00-1510-090 | Тяга. | |
| 77 | 280.00-1510-068 | Дифференциальная пружина | |
| 78 | 260.00-1510-007 | Направляющая скоба | |
| 79 | 250.01-1510-002 | Стопорное кольцо | |
| 80 | 280.00-1510-101 | Рычаг управления подачей топлива | |
| 81 | 260.00-1510-102 | Прокладка | |
| 82 | 250.02-1512-025 | Втулка | |
| 83 | МSZ 2229 | Ось с головкой 6х22х18,5 | |
| 84 | МSZ КGSТ 220 | Шплинт 2х16 | |
| 85 | 260.00-1510-000 | Рычажная система для привода акселератора в сборе | |
| 86 | 280.03-1510-000В | Рычажная система для привода акселератора в сборе | |
| 87 | МSZ 2229 | Ось с головкой 6х22х18,5 | |
| 88 | 260.00-1510-006 | Вилка | |
| 89 | 260.00-1510-004В | Тяга акселератора | |
| 90 | 280.03-1510-001А | Тяга акселератора | |
| 91 | 280.03-1510-009 | Тяга акселератора | |
| 92 | МSZ 2461 | Болт М10х50 | |
| 93 | МSZ 2260 | Гайка шестигранная М6 | |
| 94 | МSZ КGSТ 2265 | Шайба пружинная 10К-2 | |
| 95 | МSZ 2463 | Болт М6х15 | |
| 96 | 280.03-1510-004 | Дистанционное | |
| 97 | 280.03-1510-028В | Тяга акселератора, полный | |
| 98 | 260.01-1510-011 | Вал | |
| 99 | 260.01-1510-012 | Втулка | |
| 100 | КGSZ 50.6020 | Тяга 6х500 | |
| 101 | МSZ 2463 | Болт М6х15 | |
| 102 | 280.03-1510-006 | Сборка кронштейна коромысла | |
| 103 | 280.03-1510-027 | Консоль | |
| 104 | 280.03-1510-020 | Сборка кронштейна коромысла | |
| 105 | 280.03-1510-000А | Рычажной механизм для регулирования акселератора | |
| 106 | 280.03-1510-028А | Тяга акселератора полная | |
| 107 | 280.03-1510-023 | Сборка кронштейна коромысла | |
| 108 | 280.03-1510-026 | Тяга с резьбой | |
| 109 | 280.03-1510-034 | Консоль | |
| 110 | 260.03-1510-035 | Сборка кронштейна коромысла | |
| 111 | 250.04-1512-000 | Рычажной механизм для регулирования акселератора в сборе | |
| 112 | 280.00-1512-000 | Рычажной механизм для регулирования акселератора в сборе | |
| 113 | 250.03-1512-003 | Тяга акселератора | |
| 114 | МSZ-0550.6022 | Ваll jоint В10 | |
| 115 | ZF 6007 203 104 | Карсsоlо (КIСК-DОWN) | |
| 116 | 280.02-1513-010 | Сборка кронштейна коромысла | |
| 117 | МSZ 2461-8.8 | Болт с шестигранной головкой М10Х75А | |
| 118 | МSZ 2261-В | Гайка шестигранная М10 | |
| 119 | МSZ-0508.3201 | Упругая шайба сферическая и волнообразная I-10 | |
| 120 | МSZ-0550.6020 | Тяга М6х110-5.6 | |
| 121 | МSZ-0508.3201-78 | Упругая шайба сферическая и волнообразная М6 | |
| 122 | 0501205063 ZF | Датчик нагрузки | |
| 123 | 280.02-1513-001 | Консоль | |
| 124 | МSZ 2461-8.8 | Болт с шестигранной головкой М10Х75А | |
| 125 | МSZ 2204-12С | Шайба увеличенная М10 | |
| 126 | 260.04-1510-002 | Тяга с резьбой | |
| 127 | 58.3092.22 | Датчик нагрузки | |
| 128 | 260.00-1510-0000 | Рычажная система для привода акселератора | |
| 129 | МSZ 05 50.6020 | Тяга М6х3990-68 | |
| 130 | 280.01-1510-001 | Втулка | |
| 131 | МSZ 2461-8.8 | Болт с шестигранной головкой М10Х75А | |
| 132 | МSZ 2260-6 Fе/Zn 120 | Гайка шестигранная М8 | |
| 133 | МSZ-09 50.6019 | М8-16 | |
| 134 | МSZ 2228 Fе/Zn 120 | Ось с уменьшенной головкой 6х18х115 | |
| 135 | 280.04-1510-002 | Тяга с резьбой | |
| 136 | 280.06-1510-003 | Тяга акселератора | |
| 137 | 280.06-1510-005А | Тяга акселератора | |
| 138 | МSZ-05 50.6020 | Тяга 8х58х23х23-6.8 | |
| 139 | МSZ-0550.6020 | Тяга М6х110-5.6 | |
| 140 | МSZ 2473-5.6 Fе/Zn 120 | Болт М8х40х35 | |
| 141 | 280.06-1510-000А | Рычажной механизм для регулирования акселератора в сборе | |
| 142 | 280.06-1510-001 | Вал | |
| 143 | МSZ 2228 Fе/Zn 12С | Ось с уменьшенной головкой 8х25х20 | |
| 144 | МSZ КGSТ 220 Fе/Zn 120 | Шплинт 2х14 |
Содержащиеся в справочниках-каталогах запасные части и детали не предлагаются к продаже, а носят исключительно информационный характер