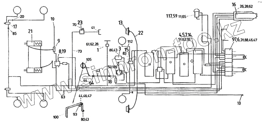
Каталог запасных частей к технике: Ikarus 260.50. Пневматическая тормозная система
1
2
3
4
5
6
7
8
9
10
10
11
13
14
15
16
17
18
19
20
21
22
23
26
28
28
31
41
42
43
43
44
44
46
46
47
47
51
53
59
61
62
62
62
63
64
65
70
73
80
83
85
86
88
91
93
97
105
109
112
117
| Позиция на иллюстрации | Заводской номер детали | Название детали | |
|---|---|---|---|
| 97450305 | 97450305 | Скоростной контакт | |
| 974555 48 | 974555 48 | Скоростной контакт | |
| 974555 68 | 974555 68 | Скоростной контакт | |
| 97474066 | 97474066 | Скоростной контакт | |
| 1 | 086.00-1536-000 | Термостат клапан | |
| 2 | LА 6252 | Сушилка воздуха | |
| 3 | 4. 002 000 000 0000 | Резервуар воздушный | |
| 4 | АЕ 4178 | Четырехконтурный защитный клапан | |
| 5 | МSZ 13516 | Резервуар воздушный 40х276-1х2 | |
| 6 | ZВ1225 | Штуцер испытательный | |
| 7 | ЕЕ 1100 | Клапан водоот делительный | |
| 8 | АЕ5102 | Клапан обратный | |
| 9 | АЕ4146 | Клапан духодовой | |
| 10 | 260.50-3804-005 | Держатель | |
| 11 | МSZ 2436-5.8 | Винт с полупотайной головкой М6х16 | |
| 12 | F08-11622 | Ниппель | |
| 13 | 64.026-0000 | Камера тормозная | |
| 14 | 05.900 | Зашитный клапан отопительного устройства | |
| 15 | SV 1261 | Клапан пневматического амортизатора | |
| 16 | МВ 4754 | Клапан тормозной | |
| 17 | SV 1219 | Клапан пневматического амортизатора | |
| 18 | АЕ 4100 | Клапан двуходовой | |
| 19 | RЕ 2220 | Клапан релейный | |
| 20 | 910.32-3804-900А | Переходное резиновое кольцо | |
| 21 | ВZ 7519 | Цилиндр тормозной двойной | |
| 22 | 65.801-0700 | Шланг тормозной | |
| 23 | 21.001-004 | Электропневматический клапан | |
| 24 | 260.50-3804-012 | Рама для воздушного резервуара в сборе | |
| 25 | 260.50-3804-025 | Зажимная лента в сборе | |
| 26 | МSZ 2463-6.8 | Болт с шестигранной головкой М6х20А | |
| 27 | МSZ КGSТ 280 | Шайба М3 | |
| 28 | МSZ 2260-6В | Гайка шестигранная М8 | |
| 29 | 66.011-0407 F02-106 | Кольцо насечное | |
| 30 | DIN 74324 | Труба 12х1,5 | |
| 31 | 38001327014/5,5 | Выключатель давления | |
| 32 | F12-1206 | Колено присоединительное | |
| 33 | 66.022-0205 F80-22 | Контрагайка | |
| 34 | МSZ 18716 | Уплотнителъное кольцо 33х39 | |
| 35 | МSZ 18716 | Уплотнителъное кольцо 33х39 | |
| 36 | 66.022-0102 F 04-14 | Гайка соединительная | |
| 37 | МSZ 2898 | Труба 30х1,5 | |
| 38 | 66.011-0401 F02-115 | Кольцо насечное | |
| 39 | МSZ 2260-5 В | Гайка шестигранная М10 | |
| 40 | F12-1612 | Колено присоединительное | |
| 41 | МSZ 2898 В | Трубка стальная 18fх1,5 RL А35 | |
| 42 | МSZ 2898 | Труба 30х1,5 | |
| 43 | 4В 47729 | Кольпак | |
| 44 | МSZ 2463-6.8 | Болт с шестигранной головкой М6х20А | |
| 45 | МSZ 22116-6.3 | Шайба коническая | |
| 46 | МSZ КGSТ 2665 | Шайба пружинная 6К-2 | |
| 47 | МSZ 2260-6 В | Гайка шестигранная М6 | |
| 48 | F08-11822 | Ниппель | |
| 49 | F68-1206 | Винт соединительный | |
| 50 | F61-16 | Пробка | |
| 51 | МSZ18716 | Кольцо уплотнительное А14х18Сu | |
| 52 | F68-1408 | Винт соединительный | |
| 53 | МSZ 18716 | Уплотнителъное кольцо 33х39 | |
| 54 | F61-22 | Пробка | |
| 55 | 66.022-0112 F04-22 | Гайка соединительная | |
| 56 | F68-1208 | Винт соединительный | |
| 57 | F68-1608 | Винт соединительный | |
| 58 | F12-1208 | Колено присоединительное | |
| 59 | 250.46-3804-003 | Вставка | |
| 60 | F60-22 | Пробка | |
| 61 | МSZ 2463-6.8 В | Болт с шестигранной головкой М8Х50 | |
| 62 | МSZ КGSТ 2665 | Шайба пружинная 6К-2 | |
| 63 | DIN 74324 | Труба 12х1,5 | |
| 64 | F07-1518 | Ниппель | |
| 65 | F68-1612 | Винт соединительный | |
| 66 | F08-12222 | Ниппель | |
| 67 | 100.01-3804-001 | Зашитная плита | |
| 68 | 260.48-3804-010 | Резервуар воздушный в сборе | |
| 69 | МSZК GSТ 2665 | Шайба пружинная 10К-2 | |
| 70 | МSZ 2461-6,8В | Болт с шестигранной головкой М8х60 | |
| 71 | F32-161212 | "Т"-тройник | |
| 72 | F03-206 | Стопорное кольцо | |
| 73 | DIN 74324 | Труба 12х1,5 | |
| 74 | 66.022-0101 F04-12 | Гайка соединительная | |
| 75 | 910.01-1401-000 | Цилиндр резиновый упругий | |
| 76 | 910.01-9603-9600Е | Опорная резина с уступами | |
| 77 | МSZ 2463-6.8 В | Болт с шестигранной головкой М8Х50 | |
| 78 | F68-2212 | Винт соединительный | |
| 79 | 180.31-1301-002 | Соединительная тарелка | |
| 80 | МSZ 2491-6.8В | Болт с шестигранной головкой М12х1,5х20 | |
| 81 | 260.50-3804-011 | Распорная деталь | |
| 82 | F68-2618 | Винт соединительный | |
| 83 | МSZ 2461-6.8В | Болт с шестигранной головкой М8Х45 | |
| 84 | МSZ 10107-СSТ | Винт с полукруглой головкой и крестооб.шлицом 4,8х9,5В | |
| 85 | 910.32-3804-900В | Переходное резиновое кольцо | |
| 86 | МSZ 2463-5.8 В | Болт с шестигранной головкой М10Х25 | |
| 87 | F05-206 | Втулка жескости | |
| 88 | МSZ 2463-6.8 В | Болт с шестигранной головкой М8Х50 | |
| 89 | 97 4555 45 | Скоростной контакт | |
| 90 | F12-2206 | Колено присоединительное | |
| 91 | МSZ 2491-6.8В | Болт с шестигранной головкой М12х1,5х20 | |
| 92 | F08-21612 | Ниппель | |
| 93 | МSZ 18716 | Уплотнителъное кольцо 33х39 | |
| 94 | F61-12 | Пробка | |
| 95 | 66.022-0204 F80-18 | Контрагайка | |
| 96 | F62-1812 | Ниппель | |
| 97 | 66.099-0404 | Разветвитель | |
| 98 | 910.28-3804-000С | Хомут с профильной резины в сборе | |
| 99 | 66.062-0101 F52-01 | Тройник | |
| 103 | 230.50-3804-003 | Штуцер для наполнения | |
| 104 | 97 4555 65 | Скоростной контакт | |
| 105 | 260.50-3804-009 | Компенсатор лира | |
| 106 | F05-208 | Втулка жесткости | |
| 107 | F05-212 | Втулка жесткости | |
| 108 | 97413868 | Скоростной контакт | |
| 109 | МSZ КGSТ 2665 | Шайба пружинная 6К-2 | |
| 110 | 97451405 | Скоростной контакт | |
| 111 | F32-221218 | Тройник | |
| 112 | DIN 743240 | Труба пластмассовая диам. 6Х1 w "RWLР" sw | |
| 113 | 97151407 | Скоростной контакт | |
| 114 | 66.022-0111 F04-18 | Гайка соединительная | |
| 115 | F03-208 | Кольцо стопорное | |
| 116 | F03-212 | Кольцо стопорное | |
| 117 | НВ1143 | Клапан ручного тормоза | |
| 120 | F12-2215 | Колено присоединительное | |
| 121 | F12-2212 | Колено присоединительное | |
| 122 | F12-2218 | Колено присоединительное |
Содержащиеся в справочниках-каталогах запасные части и детали не предлагаются к продаже, а носят исключительно информационный характер