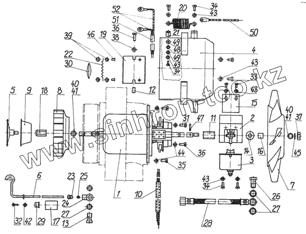
Каталог запасных частей к технике: Ikarus 260.50. Горелка
1
2
3
4
5
6
7
8
9
10
11
12
13
14
15
16
17
18
19
20
21
22
23
24
25
26
27
27
28
29
30
31
32
33
34
34
34
35
36
36
37
38
39
40
40
41
41
42
43
43
43
43
43
44
45
46
47
48
49
49
50
51
52
| Позиция на иллюстрации | Заводской номер детали | Название детали | |
|---|---|---|---|
| 1 | 414.14-00.00:00/5 | Двигатель в сборе | |
| 2 | 311.05-01-00:00/4 | Масляный насос | |
| 3 | 311.01-02.00:00/7 | Сцепление | |
| 4 | 311.01-00.10:00/1 | Кожух насоса с сопротивлением | |
| 5 | 311.01-00.02:00/1 | Разбразгивающая тарелка в сборе | |
| 6 | 311.01-00.03:00/2 | Впускной маслопровод | |
| 7 | 311.01-00.05:00/4 | Шестерня вентилятора | |
| 8 | 311.19-00.07:00/4 | Радиальный вентилятор | |
| 9 | 314.01-00.04:00/6 | Стакан в сборе | |
| 10 | 442.01-00.00:00/1 | Соединительный провод в сборе | |
| 11 | 311.01-00.00:03/2 | Червяк | |
| 12 | 311.01-00.00:04/0 | Втулка | |
| 13 | 311.01-00.00:05/7 | Винт полостный | |
| 14 | 311.01-00.00:07/3 | Диск | |
| 15 | 311.01-00.00:09/8 | Плита покрывающая | |
| 16 | 311.01-00.00:10/4 | Распорная втулка | |
| 17 | 136648.400247 | Изоляционный шланг | |
| 18 | 314.01-00.00:01/0 | Ниппель | |
| 19 | 311.01-00.04:01/1 | Серьга | |
| 20 | 311.01-00.10:03/4 | Спираль свечи накаливания | |
| 21 | 311.01-00.10:04/2 | Распорный элемент | |
| 22 | 122588.0012016 | Реостатный провод | |
| 23 | 134298.000010 | Винт | |
| 24 | 134298.000035 | Кольцевой штуцер | |
| 25 | 134298.000351 | Двойное коническое кольцо | |
| 26 | 134298.000076 | Винт полостный | |
| 27 | 134299.110216 | Уплотнительное кольцо | |
| 28 | 139925.200174 | Шланговая проводка | |
| 29 | 146443.100217 | Уплотнитель переходника кабеля | |
| 30 | 146446.000018 | Пробка | |
| 31 | Винт с шестигранной головкой | Винт с шестигранной головкой | |
| 32 | Винт с цилиндрической головкой | Винт с цилиндрической головкой | |
| 33 | Винт с цилиндрической головкой | Винт с цилиндрической головкой | |
| 34 | Винт с цилиндрической головкой | Винт с цилиндрической головкой | |
| 35 | Винт с цилиндрической головкой | Винт с цилиндрической головкой | |
| 36 | Винт с цилиндрической головкой | Винт с цилиндрической головкой | |
| 37 | Гайка шестигранная | Гайка шестигранная | |
| 38 | Диск | Диск | |
| 39 | Диск | Диск | |
| 40 | 135731.226115 | Установочная шайба | |
| 41 | 135731.228117 | Установочная шайба | |
| 42 | Пружинная шайба | Пружинная шайба | |
| 43 | Пружинная шайба | Пружинная шайба | |
| 44 | Пружинная шайба | Пружинная шайба | |
| 45 | Пружинная шайба | Пружинная шайба | |
| 46 | 135741.304144 | Полостная заклепка | |
| 47 | 135743.644208 | Штифт цилиндрический шлицевой | |
| 48 | 145623.710027 | Изоляционная шайба | |
| 49 | 155843.100010 | Изоляционный шланг | |
| 50 | 136561.001071 | Электропроводка автилобиля | |
| 51 | 136648.400101 | Изоляционный шланг | |
| 52 | 136561.001328 | Электропроводка автомобиля |
Содержащиеся в справочниках-каталогах запасные части и детали не предлагаются к продаже, а носят исключительно информационный характер