Вернуться на главную
Поиск
Каталоги запчастей к технике
Автобусы
Ikarus
260.50
Электропневматический клапан
Каталог запасных частей к технике: Ikarus 260.50. Электропневматический клапан
zoom-in
zoom-out
enlarge
shrink
circle-right
circle-left
file-text2
info
cart
Тип техники
Не выбрано
Легковые автомобили
Грузовые автомобили и прицепы
Автобусы
Сельхозтехника
Спецтехника
Двигатели
Мототехника
Марка
Не выбрано
Golden Dragon
Hyundai
Ikarus
Karosa
King Long
Neoplan
Yutong
ZF
АМАЗ
Богдан
ЗИЛ
КАВЗ
Камский автозавод
ЛАЗ
ЛЗГМП
ЛиАЗ
Нефтекамский автозавод
ПАЗ
УралАЗ
Модель
Не выбрано
260.50
Схема
>
Не выбрано
Каркасные элементы
Каркасные элементы
Наружные облицовочные панели
Наружные облицовочные панели
Наружные облицовочные панели
Внешняя облицовка
Внешняя облицовка
Внешняя облицовка
Наружные облицовочные панели
Наружные облицовочные панели
Наружные облицовочные панели
Профили
Профили
Монтаж арматурного щита
Монтаж арматурного щита
Отопительная установка
Отопительное устройство
Отопление и вентиляция
Отопление и вентиляция
Отопительное устройство и вентиляция
Отопительное устройство и вентиляция
Отопительное устройство и вентиляция
Отопительное устройство и вентиляция
Вентилятор системы вентиляции
Сцепление
Электродвигатель в сборе
Электродвигатель в сборе
Щит управления
Щит управления
Коробка управления
Принадлежности к отопительному устройству типа 262
Горелка
Масляный насос
Детали вентилятора потолочной вентиляции
Циркуляционный насос
Установка двигателя
Подвеска двигателя
Блок цилиндров
Картер распределительного механизма
Картер маховика
Поршень, шатун
Коленчатый вал
Головка цилиндров
Распределительный механизм двигателя
Масляный насос
Масляный фильтр
Масляный радиатор
Масляный картер, масляные трубки
Установка приемной трубы генератора
Пневматический рабочий цилиндр
Труба всасывания и выхлопная труба
Электропневматический клапан
Установка устройства для пуска холодного двигателя
Детали устройства для пуска холодного двигателя
Фильтр грубой очистки топлива
Фильтр воздушный
Фильтр воздушный
Форсунка
Форсунка
Форсунка
Форсунка
Топливопроводы
Топливный насос
Топливный насос
Топливный насос
Топливный насос
Топливный насос
Привод топливного насоса
Насос ручной
Детали топливлподкачивающего насоса
Регулятор
Регулятор
Регулятор
Автоматический регулятор для опережения подачи топлива
Топливный фильтр
Управление двигателем
Топливный бак и топливопроводы
Устройство подачи топлива и его привод
Устройство подачи топлива и его привод
Устройство подачи топлива и его привод
Установка воздухоочистителя
Установка воздухоочистителя
Детали крышки наливного отверстия
Глушитель
Глушитель и его установка
Спецификация ножного переключателя выхлопного тормоза
Выхлопной тормоз и управление выхлопным тормозом
Труба охлаждающей воды
Водяной насос
Водяной насос
Вентилятор и его привод
Пневматическая муфта сцепления вентилятора
Система водопроводных труб
Система водопроводных труб
Жалюзи радиатора и их управление
Установка сцепления
Муфта сцепления
Детали сцепления
Привод сцепления
Усилитель сцепления
Рабочий цилиндр привода выключения сцепления
Корпус сцепления
Корпус сцепления
Установка коробки передач
Установка коробки передач
Установка коробки передач
Установка коробки передач
Картер коробки передач
Картер коробки передач
Коленчатый вал
Коленчатый вал
Промежуточный вал, элементы заднего хода, шестерни
Промежуточный вал, элементы заднего хода, шестерни
Механизм дистанционного переключения передач
Механизм дистанционного переключения передач
Механизм дистанционного переключения передач
Механизм дистанционного переключения передач
Кронштейн дистанционного управления
Кронштейн дистанционного управления
Крышка механизма переключения
Крышка механизма переключения
Вилка переключения передач
Вилка переключения передач
Крышка привода спидометра
Крышка привода спидометра
Карданная передача
Установка карданного вала
Мост передний
Мост передний
Мост задний
Качающие рычаги заднего моста
Качающие рычаги заднего моста
Качающие рычаги заднего моста
Корпус моста и полуосевого кардана
Полуось, привод колеса
Корпус моста, картер полуосевого кардана
Дифференциал
Дифференциал
Дифференциал
Картер редуктора
Картер моста - полуось
Колесный редуктор
Задний мост, редуктор в сборе
Редуктор
Мост прицепа и его установка
Мост прицепа и его установка
Подвеска
Подрессоривание
Детали воздушной рессоры
Детали амортизатора
Детали амортизатора
Клапан пневматического амортизатора
Ось передняя
Сборка и подвеска передней оси
Сборка и подвеска передней оси
Передняя ось и ось прицепа
Ступица колеса
Шайба ступица системы Trilex
Привод насоса гидроусилителя руля
Детали сервонасоса
Гидравлика руля
Гидравлическая система рулевого управления
Гидравлическая система рулевого управления
Фильтр и бак гидроусилителя руля
Фильтр и бак гидроусилителя руля
Установка руля, рычажная система руля
Рулевое управление и рулевые тяги
Рулевое управление и рулевые тяги
Рулевой механизм
Рулевой механизм
Стойка рулевого механизма
Рулевая сошка
Шарнирная рулевая колонка
Тормоз
Тормоз
Пневматический рабочий цилиндр
Пневматическая тормозная система
Пневматическая тормозная система
Пневматическое тормозное устройство
Пневматическое тормозное устройство
Пневматическое тормозное устройство
Пневматическое тормозное устройство
Пневматическое тормозное устройство
Пневматическое тормозное устройство
Пневматическое тормозное устройство
Пневматическое тормозное устройство
Пневматическое тормозное устройство
Пневматическое тормозное устройство
Пневматическое тормозное устройство
Пневматическое тормозное устройство
Пневматическое тормозное устройство
Установка воздушного компрессора
Установка воздушного компрессора
Установка воздушного компрессора
Детали воздушного компрессора
Детали компрессора
Детали компрессора
Детали обратного клапана (КМГ)
Радиатор, уравнительный резервуар, воздушный дефлектор и его установка
Радиатор, уравнительный резервуар, воздушный дефлектор и его установка
Автоматический подрегулятор тормоза
Устройство автоматической подрегилировки тормоза
Ступица колеса - тормозной барабан
Снабжение вспомогательным воздухом
Снабжение вспомогательным воздухом
Камера тормозная
Распределительный клапан прицепа
Двухсекционный клапан
Четырехлинейный предохранительный клапан
Включающий клапан
Обратный клапан
Тормозной цилиндр двухстороннего действия
Перепускной клапан (без обратного потока)
Клапан для спуска конденсата
Клапан стояночного тормоза
Трубчатый фильтр
Тормозной кран автомобиля
Релейный клапан
Испытательный штуцер
Релейный клапан
Влагоотделитель
Тормозной кран автомобиля
Установка генератора
Детали генератора переменного тока
Установка стартера
Стартер
Установка тахометра для измерения числа оборотов
Шарнирное устройство прицепа
Управление ребрового каркаса, управление прицепа
Гармоника сочлененного автобуса
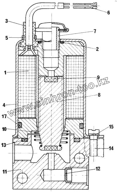
1
2
3
4
5
6
7
8
9
10
11
12
13
14
15
17
Позиция на иллюстрации
Заводской номер детали
Название детали
1
20-010006
Обмотка в сборе
2
09-413108
Кольцо уплотнительное
3
02-01058-0
Опора проводов
4
02-010159-0
Кожух
5
02-01072-0
Хомут
6
09-590271
Патентный кабельный наконечник
7
20-010009
Клапан выхлопной в сборе
8
20-010007
Подвижный сердечник
9
02-01063-1
Плита уплотнительная
10
02-01064-0
Нажимная пружина
11
02-01066-0
Корпус клапана
12
02-01073-0
Фильтр
13
09-410914
Уплотнительное кольцо
14
09-112605
Винт с цилиндрической головкой
15
09-117501
Шайба пружинная
16
21-001004
Клапан электропневматический
17
09-410918
Кольцо О-образное
Содержащиеся в справочниках-каталогах запасные части и детали не предлагаются к продаже, а носят исключительно информационный характер
Дополнительная информация
×
Название:
Номер:
Примечание: