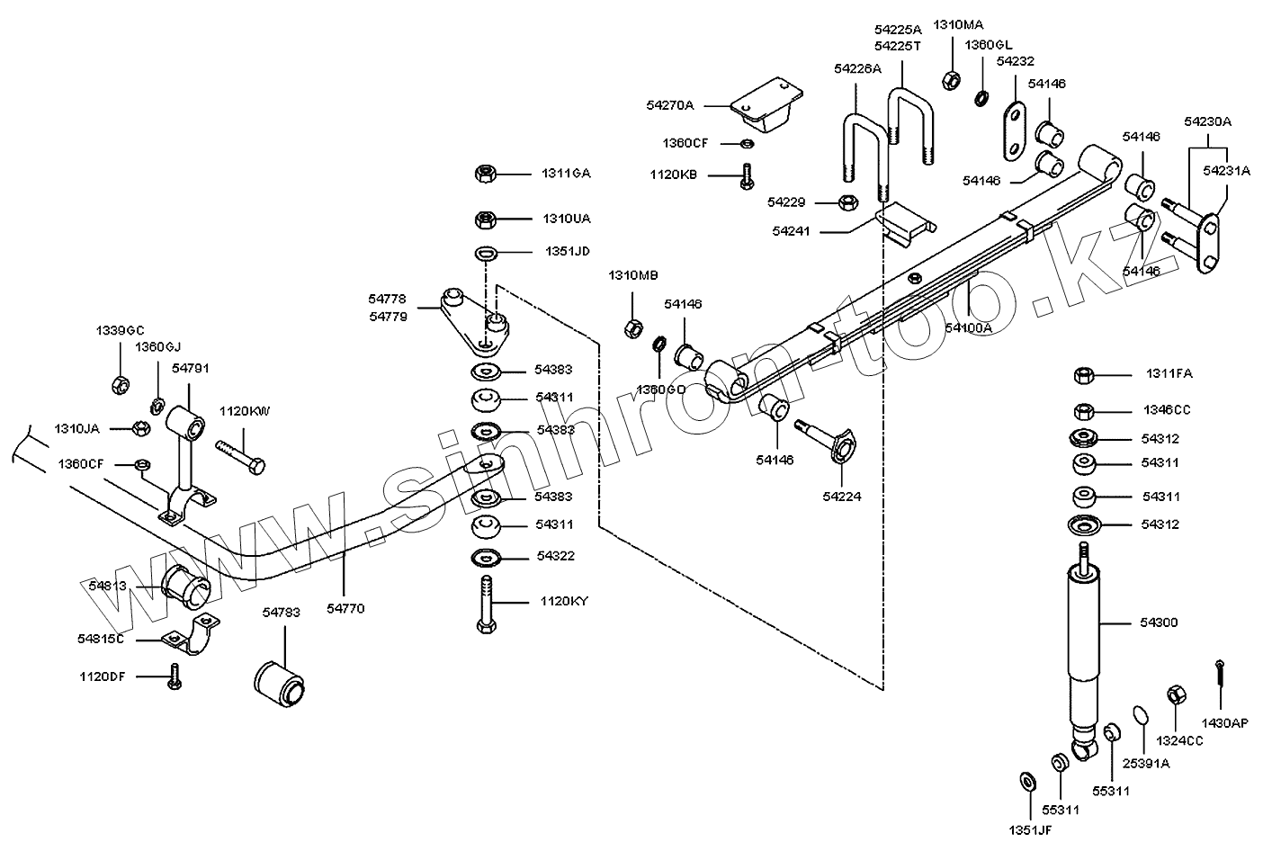
Каталог запасных частей к технике: Hyundai County. Подвеска передняя
1120DF
1120KB
1120KW
1120KY
1310JA
1310MA
1310MB
1310UA
1311FA
1311GA
1324CC
1339GC
1346CC
1351JD
1351JD
1360CF
1360CF
1360GJ
1360GL
1360GO
1430AP
25391A
54100A
54146
54146
54146
54146
54146
54146
54224
54225A
54225T
54226A
54229
54230A
54231A
54232
54241
54270A
54300
54311
54311
54311
54311
54312
54312
54322
54383
54383
54383
54770
54778
54779
54783
54791
54813
54815C
55311
55311
| Позиция на иллюстрации | Заводской номер детали | Название детали | |
|---|---|---|---|
| 1120DF | 11201-10303 | Болт | |
| 1120KB | 11204-10253 | Болт | |
| 1120KW | 11204-12803 | Болт | |
| 1120KY | 11204-12951 | Болт | |
| 1310JA | 13101-10003 | Гайка | |
| 1310MA | 13101-16003 | Гайка | |
| 1310MB | 13101-18003 | Гайка | |
| 1310UA | 13104-12003 | Гайка | |
| 1311FA | 13111-10003 | Гайка | |
| 1311GA | 13111-12003 | Гайка | |
| 1324CC | 13241-16003 | Гайка | |
| 1339GC | 13396-12003 | Гайка | |
| 1346CC | 13467-16003 | Гайка | |
| 1351JD | 13510-12003 | Шайба | |
| 1360CF | 13602-10003 | Пружинная шайба | |
| 1360GJ | 13602-12003 | Пружинная шайба | |
| 1360GL | 13602-16003 | Пружинная шайба | |
| 1360GO | 13602-18003 | Пружинная шайба | |
| 1430AP | 14300-04301 | Палец | |
| 25391A | 25391-88002 | Прокладка | |
| 54100A | 54100-5A000 | Пружина | |
| 54146 | 54146-45000 | Втулка-резина | |
| 54224 | 54224-45000 | Пружинный штифт | |
| 54225A | 54225-5A200 | Болт | |
| 54225T | 54225-5A000 | Болт | |
| 54226A | 54226-5A000 | Болт | |
| 54229 | 54229-45010 | Гайка-п-обр. болт | |
| 54230A | 54230-46050 | Серьга передней пружины | |
| 54231A | 54231-46050 | Пластина | |
| 54232 | 54232-46050 | Пластина петли пружины | |
| 54241 | 54271-5A000 | Спиральная пружина | |
| 54270A | 54270-5A000 | Опора рессоры | |
| 54300 | 54300-5A000 | Амортизатор | |
| 54311 | 54311-44000 | Втулка | |
| 54312 | 54312-44000 | Прокладка | |
| 54322 | 54322-62000 | Прокладка | |
| 54383 | 54383-62000 | Прокладка | |
| 54770 | 54770-5A000 | Стабилизатор | |
| 54778 | 54778-46050 | Пластина стабилизатора левая | |
| 54779 | 54779-46050 | Пластина-стержень стабилизатора прав. | |
| 54783 | 54783-5A000 | Втулка-резина | |
| 54791 | 54791-5A000 | Шток стабилизатор | |
| 54813 | 54772-46001 | Втулка-стержень стабилизатора | |
| 54815C | 54785-46000 | Хомут стойки стабилизатора | |
| 55311 | 55311-45001 | Резиновая втулка |
Содержащиеся в справочниках-каталогах запасные части и детали не предлагаются к продаже, а носят исключительно информационный характер