Вернуться на главную
Поиск
Каталоги запчастей к технике
Автобусы
АМАЗ
МАЗ-103 (2005)
Установка системы топления в моторном отсеке
Каталог запасных частей к технике: АМАЗ МАЗ-103 (2005). Установка системы топления в моторном отсеке
zoom-in
zoom-out
enlarge
shrink
circle-right
circle-left
file-text2
info
cart
Тип техники
Не выбрано
Легковые автомобили
Грузовые автомобили и прицепы
Автобусы
Сельхозтехника
Спецтехника
Двигатели
Мототехника
Марка
Не выбрано
Golden Dragon
Hyundai
Ikarus
Karosa
King Long
Neoplan
Yutong
ZF
АМАЗ
Богдан
ЗИЛ
КАВЗ
Камский автозавод
ЛАЗ
ЛЗГМП
ЛиАЗ
Нефтекамский автозавод
ПАЗ
УралАЗ
Модель
Не выбрано
МАЗ-103 (2000)
МАЗ-103 (2005) (2005)
МАЗ-103 (2011) (2011)
МАЗ-104 (2005)
МАЗ-104 (2011) (2011)
МАЗ-104С (2005)
МАЗ-105 (2005)
МАЗ-105 (2011) (2011)
МАЗ-107 (2005)
МАЗ-107 (2011) (2011)
МАЗ-152 (2005)
МАЗ-152 (2011) (2011)
МАЗ-203 (2007)
МАЗ-206/226 (2011)
МАЗ-215 (2015)
МАЗ-231 (2015)
МАЗ-251 (2011)
МАЗ-256
МАЗ-256 (вариант) (2006)
Схема
>
Не выбрано
Установка гибких сочленений
Установка гибких сочленений
Установка стеклоочистителя
Облицовка передка
Установка панели передка
Подножка
Расположение крышек и решеток на кузове автобусов МАЗ-103, МАЗ-104
Расположение крышек и решеток на кузове автобусов МАЗ-105
Расположение крышек и решеток на кузове МАЗ 152 и МАЗ 152А
Установка крышек люков с упором
Установка крышек люков с газовой пружиной
Установка стекол на МАЗ 103, МАЗ 103С, МАЗ 104, МАЗ 104С
Установка стекол и форточки
Окно водителя
Установка стекол на МАЗ 105
Установка стекол на МАЗ 107
Установка крышки люка моторного отсека
Люк аварийный
Ручка аварийного люка
Установка люков аварийных
Привод дверей
Привод дверей
Механизм открывания дверей
Дверь
Установка дверей
Дверь (установка замков)
Установка дверей (пневмоаппаратуры)
Установка сидений
Установка сидений (одноместные сиденья)
Установка сидений (двухместные сиденья)
Установка сидений
Установка сидений (одноместные сиденья)
Установка сидений (двухместные сиденья)
Установка сидений
Установка сидений (одноместные сиденья)
Установка сидений (двухместные сиденья)
Сиденье одноместное
Сиденье двухместное
Установка сидений пассажирских
Установка сиденья водителя
Блок вентиляторный
Отопитель
Панель управления заслонкой отопителя
Установка фронтального отопителя
Отопитель салонный
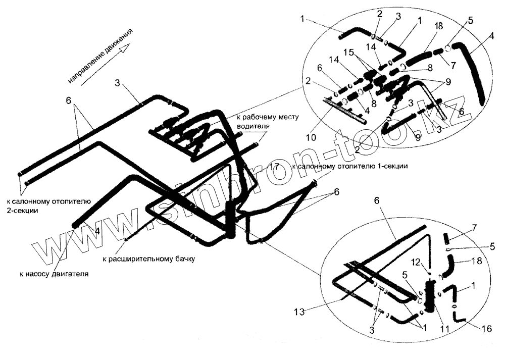
Установка системы топления в моторном отсеке
Установка системы топления в салоне
Установка кожухов
Установка системы отопления моторного отсека
Установка системы топления в салоне
Установка кожухов
Установка системы топления в салоне (2-я секция)
Установка системы топления в салоне (1-я секция)
Установка кожухов (1-я секция)
Установка кожухов (2-я секция)
Установка системы топления в моторном отсеке
Установка системы топления в салоне
Установка системы топления в моторном отсеке
Установка системы топления в моторном отсеке
Установка зеркал
Установка поручней (справа)
Установка поручней (слева)
Установка силового агрегата
Установка силового агрегата
Установка силового агрегата (до марта 2005 года)
Установка силового агрегата (с марта 2005 года)
Установка силового агрегата
Установка силового агрегата
Установка силового агрегата
Установка силового агрегата
Установка подогревателя (до 2000 года)
Установка подогревателя
Установка подогревателя
Установка подогревателя
Установка подогревателя
Установка подогревателя
Установка подогревателя
Установка подогревателя
Установка подогревателя
Установка подогревателя
Установка подогревателя
Установка подогревателя (до 2005 года)
Установка воздухоочистителя и охладителя наддува
Установка воздухоочистителя и охладителя наддува
Установка воздухоочистителя
Установка воздухоочистителя и охладителя наддува
Установка воздухоочистителя и охладителя наддува
Установка воздухоочистителя и охладителя наддува
Установка воздухоочистителя и охладителя наддува
Установка воздухоочистителя и охладителя наддува
Бак топливный, установка топливопроводов
Установка топливопроводов
Установка топливопроводов
Бак топливный, установка топливопроводов
Установка топливопроводов
Крепление топливного бака
Крепление топливного бака
Установка педали привода управления двигателем
Привод управления двигателем
Привод управления двигателем
Привод управления двигателем
Привод управления двигателем
Привод управления двигателем
Привод управления двигателем
Привод управления двигателем (лист 2)
Привод управления двигателем (лист 2)
Установка педали привода управления двигателя
Установка системы выпуска отработавших газов
Установка системы выпуска отработавших газов
Установка системы выпуска отработавших газов
Установка системы выпуска отработавших газов
Установка системы выпуска отработавших газов
Установка системы выпуска отработавших газов
Установка системы выпуска отработавших газов
Установка системы выпуска отработавших газов
Установка системы выпуска отработавших газов
Установка системы выпуска отработавших газов
Установка системы выпуска отработавших газов
Установка системы выпуска отработавших газов
Установка радиаторов МАЗ-103
Установка системы гидропривода вентилятора (до января 2006 года)
Установка системы гидропривода вентилятора
Установка системы гидропривода вентилятора (до января 2006 года)
Установка системы гидропривода вентилятора (с января 2006 года)
Установка системы охлаждения
Установка системы охлаждения
Установка системы охлаждения
Установка системы охлаждения
Установка системы охлаждения
Бачок расширительный
Установка привода управления сцеплением
Установка привода управления сцеплением
Установка привода управления сцеплением
Усилитель пневмогидравлический
Педаль управления сцеплением
Клапан
Механизм переключения передач
Установка привода переключения передач (до 2002 года)
Установка привода переключения передач (до 2002 года)
Установка привода коробки передач
Вал
Установка привода переключения передач (до 2002 года)
Рычаг
Установка привода переключения передач (до 2002 года)
Установка привода коробки передач
Установка привода коробки передач (до 2002 года)
Установка привода коробки передач
Установка привода коробки передач (до 2002 года)
Установка привода коробки передач
Рычаг
Установка карданного вала (до сентября 2003 года)
Установка карданного вала (после сентября 2003 года)
Мост задний (до 2000 года)
Картер заднего моста с полуосями и цапфами (до 2000 года)
Тормозной механизм заднего моста 102-2400012 (до 2000 года)
Редуктор заднего моста (до 2000 года)
Мост задний
Картер заднего моста с полуосями и цапфами
Шестерня ведущая и картер редуктора заднего моста
Тормозной механизм заднего моста МАЗ-103 (правый)
Тормозной механизм заднего моста МАЗ-103 (левый)
Мост задний МАЗ-104
Мост задний МАЗ-104. Тормозной механизм
Редуктор заднего моста
Мост задний
Картер заднего моста с полуосями и цапфами
Тормозной механизм заднего моста МАЗ-105
Редуктор заднего моста
Ось прицепа
Картер оси прицепа
Мост задний МАЗ-152
Картер моста
Редуктор заднего моста МАЗ-152
Подвеска передняя
Подвеска передняя (с февраля 2003 года)
Подвеска передняя
Установка задней подвески
Установка задней подвески (с 2000 года)
Установка задней подвески
Соединения пневматические
Установка трубопроводов пневмоподвески
Штанга
Ось передняя
Ось передняя
Тяга
Ступица с кулаком и тормозами
Цилиндр блокировки задней дополнительной оси
Установка подвески задней дополнительной оси
Установка колес
Установка узлов рулевого управления, механизм рулевой с усилителем и тягами
Кронштейн с колонкой рулевой
Колонка рулевая
Механизм рулевой с распределителем
Механизм рулевой с распределителем
Механизм рулевой
Распределитель
Редуктор угловой
Редуктор угловой
Карданный вал
Рулевое управление МАЗ-103, установка насоса, установка трубопроводов
Рулевое управление МАЗ-103, установка насоса, установка трубопроводов
Рулевое управление МАЗ-103, установка насоса, установка трубопроводов
Установка узлов рулевого механизма, механизм рулевой с усилителем и тягами
Цилиндр
Цилиндр
Рулевое управление МАЗ-152, установка насоса, установка трубопроводов
Рулевое управление МАЗ-152, установка насоса, установка трубопроводов
Установка гидросистемы управления третьей оси
Насос (для ММЗ)
Тормозной механизм
Тормозной механизм (до 2004 года)
Блок подготовки сжатого воздуха
Блок ресиверов правый
Блок ресиверов левый и защитные устройства
Передний контур тормозов МАЗ-103
Задний и остановочный тормоз МАЗ-103
Приводной блок задних тормозов
Стояночный тормоз МАЗ-103
Контур потребителей МАЗ-103
Установка АКБ (до 2003 года)
Установка АКБ (после 2003 года)
Установка АКБ
Установка звуковых сигналов
Установка светотехники МАЗ-103
Установка передних фар
Установка задних фар
Установка блока коммутации
Установка блока коммутации
Установка освещения салона автобуса, дверных проемов, номерного знака и моторного отсека
Установка повторителей указателей поворотов и боковых габаритных фонарей
Установка осветителей маршрутных указателей
Установка маршрутных табло
Панель левая
Панель правая
Панель центральная
Установка узла сочленения
Установка стабилизатора положения рамки
Установка механизма поворота рамки (до 2001 года)
Установка механизма поворота рамки (с ноября 2001 года по декабрь 2003 года)
Установка двигателя (с 2003 года)
1
1
1
1
2
2
2
3
3
3
3
3
4
4
4
5
5
5
6
6
6
6
6
7
7
8
8
9
9
10
11
12
13
14
14
15
16
17
18
18
Позиция на иллюстрации
Заводской номер детали
Название детали
1
103-8101600
Патрубок гнутый
2
Хомут червячный
Хомут червячный DIN 3017 AI32-50 W2-1
3
152-8101636
Патрубок
4
Рукав
Рукав 25x35
5
Хомут червячный
Хомут червячный DIN 3017 AI32-50 W2-1
6
Рукав
Рукав 25x35
7
103-1015073-40
Трубка соединительная
8
104-8101352
Патрубок
9
103-8101602
Патрубок гнутый
10
105-8101262-60
Коллектор
11
105-8101334-60
Бачок воздухоотделительный
12
Хомут червячный
Хомут червячный DIN 3017 AI32-50 W2-1
13
Рукав
Рукав 25x35
14
101-8101352
Патрубок
15
101-8101302-01
Кран проходной
16
105-8101640
Труба
17
105-8101659-60
Труба
18
70-1303001
Рукав
Содержащиеся в справочниках-каталогах запасные части и детали не предлагаются к продаже, а носят исключительно информационный характер
Дополнительная информация
×
Название:
Номер:
Примечание: